LEMON Manuals: Even more car manuals for everyone: 1960-2025
Home >> Nissan-Datsun >> 2004 >> Sentra SE-R Spec V >> Repair and Diagnosis >> External Pages >> Different car >> Section 211 (Engine Controls - Self-Diagnostics) >> Diagnostic Tests >> DTC P0117: Engine Coolant Temperature Sensor Circuit Low Input Or DTC P0118: Engine Coolant Temperature Sensor Circuit High Input
April 5, 2026: LEMON Manuals is launched! Read the announcement.

DTC P0117: Engine Coolant Temperature Sensor Circuit Low Input Or DTC P0118: Engine Coolant Temperature Sensor Circuit High Input

WARNING: This page is about a different car, the 2003 Nissan Murano. However, it is still accessible from the selected car via links, so may be relevant.
NOTE: Before performing diagnostic procedure, follow testing procedure. See TESTING PROCEDURE  under SELF-DIAGNOSTIC SYSTEM.

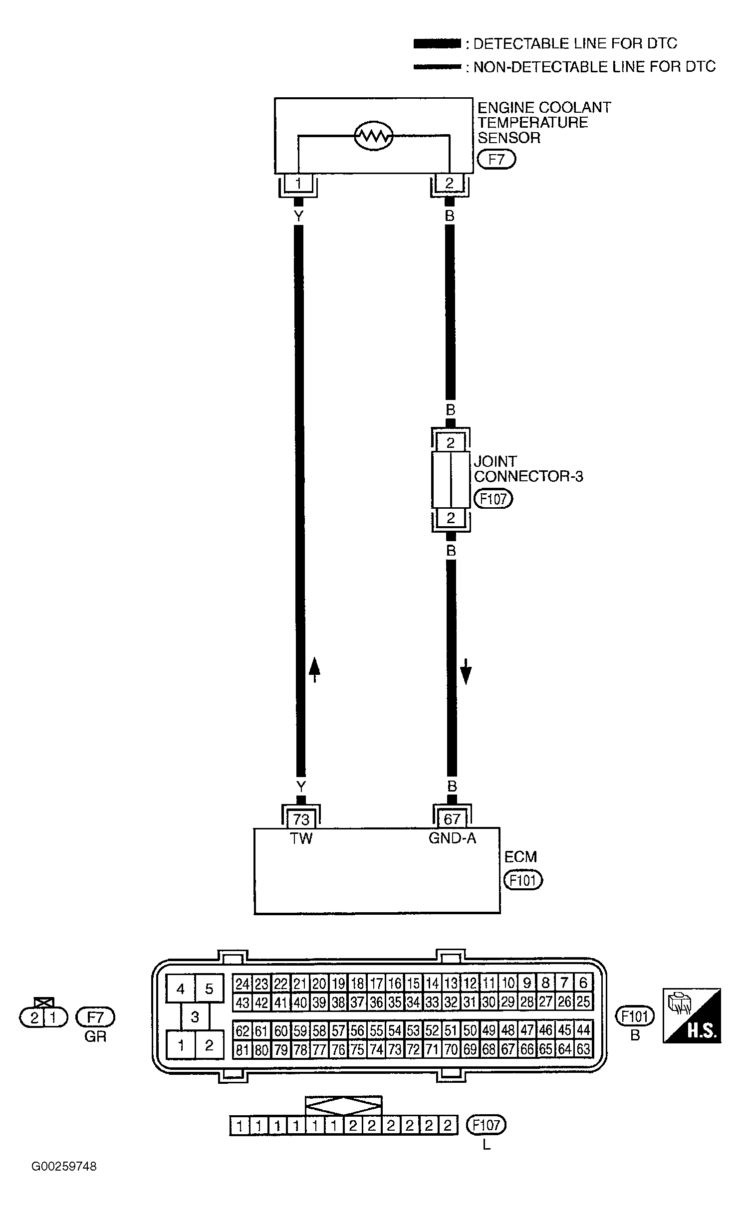
For diagnostic procedures, see Fig 1-Fig 6 .

Fig 1: DTCs P0117 & P0118 (1 Of 5)
G00203651Courtesy of NISSAN MOTOR CO., U.S.A.
Fig 2: DTCs P0117 & P0118 (2 Of 5)
G00203652Courtesy of NISSAN MOTOR CO., U.S.A.
Fig 3: DTCs P0117 & P0118 (3 Of 5)
G00259748Courtesy of NISSAN MOTOR CO., U.S.A.
Fig 4: DTCs P0117 & P0118 (4 Of 5)
G00259749Courtesy of NISSAN MOTOR CO., U.S.A.
Fig 5: DTCs P0117 & P0118 (5 Of 5)
G00259750Courtesy of NISSAN MOTOR CO., U.S.A.
Fig 6: Testing Engine Coolant Temperature Sensor
G00259751Courtesy of NISSAN MOTOR CO., U.S.A.