LEMON Manuals: Even more car manuals for everyone: 1960-2025
Home >> Nissan-Datsun >> 2004 >> Sentra SE-R >> Repair and Diagnosis >> External Pages >> Different car >> Section 108 (Engine Controls - System & Component Testing) >> Computerized Engine Controls >> Engine Control Module (ECM) >> Power & Ground Circuits (FX35 & FX45)
April 5, 2026: LEMON Manuals is launched! Read the announcement.

Power & Ground Circuits (FX35 & FX45)

WARNING: This page does not describe the selected car, but rather 7 other vehicles, including the 2003 Infiniti QX4, 2003 Infiniti Q45, 2003 Infiniti M45, 2003 Infiniti I35, and 2003 Infiniti G35. However, it is still accessible from the selected car via links, so may be relevant.
  1. Start engine. Is engine running? If yes, go to step  10. If not, go to next step.
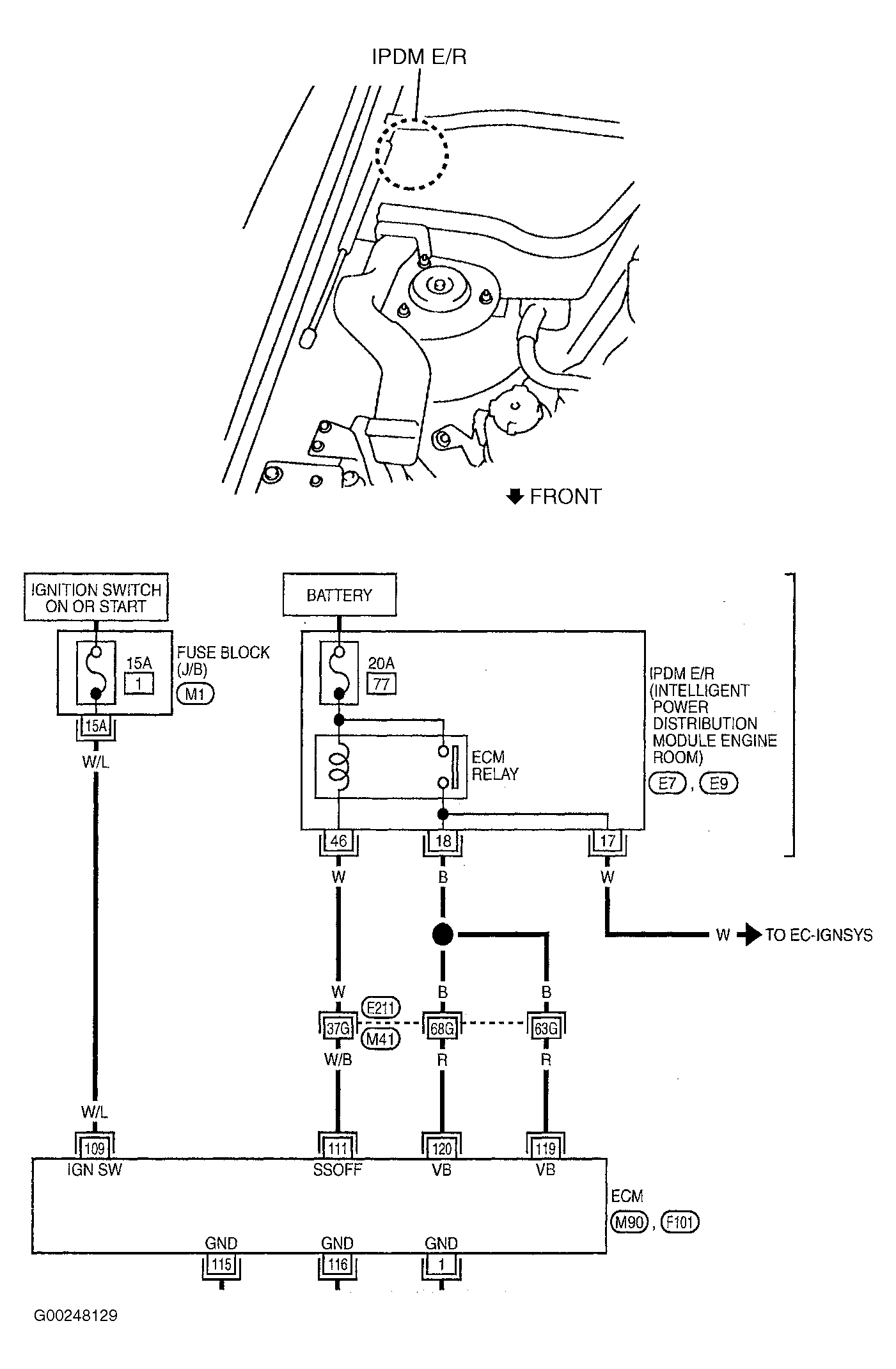
  2. Turn ignition switch to OFF position and then to ON position. Check voltage between ground and ECM terminal No. 109 (White/Blue wire). Battery voltage should exist. If voltage is as specified, go to step  4. If voltage is notas specified, go to next step.
  3. Check the following:
    • Fuse block (J/B) connector M1.
    • 15-amp fuse.
    • Harness for open or short between ECM and fuse.

    Repair harness or connectors as necessary.

  4. Turn ignition switch to OFF position. Disconnect ECM harness connector. Check harness continuity between engine ground and ECM terminals No. 1, 115 and 116. See Figure. Continuity should exist. Check harness for short to power. If no problem is found, go to step  6. If problem is found, go to next step.
  5. Check the following:
    • Harness connectors F102 and M82.
    • Harness for open or short between ECM and engine ground.

    Repair open circuit or short to power in harness or connectors as necessary.

  6. Reconnect ECM harness connector. Turn ignition switch to ON position. Check voltage between ground and IPDM E/R connector E7 terminal No. 17. See Figure. Battery voltage should exist. If voltage is as specified, see appropriate IGNITION COIL & POWER TRANSISTOR test in IGNITION SIGNAL under IGNITION SYSTEM. If voltage is not as specified, go to next step.
  7. Turn ignition switch to ON position then OFF. Check voltage between ground and ECM terminals No. 119 and 120. See Figure. After turning ignition switch to OFF position, battery voltage will exist for a few seconds, then drop to about zero volts. If voltage is as specified, go to step  16. If battery voltage does not exist, go to next step. If battery voltage exists for more than a few seconds, go to step  16.
  8. Turn ignition switch to OFF position. Check voltage between ground and ECM terminal No. 111. See Figure. Battery voltage should exist. If voltage is as specified, go to next step. If voltage is not as specified, go to step  11.
  9. Disconnect ECM harness connector. Disconnect IPDM E/R harness connector E7. Check harness continuity between ECM terminals No. 119, 120 and IPDM E/R terminal No. 18. See Figure. Continuity should exist. Also check harness for short to ground and short to power. If no problem is found, go to step  14. If problem is found, go to next step.
  10. Check the following:
    • Harness or connectors E211 and M41.
    • Harness for open or short between ECM and IPDM E/R.

    Repair open circuit or short to ground or short to power in harness or connectors.

  11. Disconnect ECM harness connector. Disconnect IPDM E/R harness connector. Check harness continuity between ECM terminal No. 111 and IPDM E/R terminal No. 46. See See Figure. Continuity should exist. Also check harness for short to ground and short to power. If no problem is found, go to step  13. If problem is found, go to next step.
  12. Check the following:
    • Harness of connectors E211 and M41.
    • Harness for open or short between ECM and IPDM E/R.

    Repair open circuit or short to ground or short to power in harness or connectors.

  13. Disconnect 20-amp fuse from IPDM E/R. Inspect 20-amp fuse. If fuse is okay go to step  16. If fuse is faulty, replace 20-amp fuse.
  14. Turn ignition switch to OFF position. Disconnect ECM harness connector. Check harness continuity between engine ground and ECM terminals No. 1, 115 and 116. See Figure. Continuity should exist. Also heck harness for short to power. If problem is found, make appropriate repairs to open circuit or short to power in harness. If no problem is found, go to next step.
  15. Check the following:
    • Harness connectors F102 and M82.
    • Harness for open or short between ECM and engine ground.

    Repair open circuit or short to power in harness or connectors as necessary.

  16. Problem may be intermittent. See INTERMITTENTS in TROUBLE SHOOTING - NO CODES article. If no mproblem is found , replace IPDM E/R. If problem is found, repair open circuit or short to ground or short to power in harness or connectors.