LEMON Manuals: Even more car manuals for everyone: 1960-2025
Home >> Nissan-Datsun >> 2004 >> Sentra SE-R >> Repair and Diagnosis >> External Pages >> Different car >> Section 1127 (Rear Window Defogger) >> Filament Check
April 5, 2026: LEMON Manuals is launched! Read the announcement.

Filament Check

WARNING: This page is about a different car, the 2004 Nissan Murano. However, it is still accessible from the selected car via links, so may be relevant.
  1. When measuring voltage, wrap tin foil around the top of the negative probe. Then press the foil against the wire with your finger.
    Fig 1: Pressing Tin Foil Against Wire
    G03491748Courtesy of NISSAN MOTOR CO., U.S.A.
  2. Attach probe circuit tester (in Volt range) to middle portion of each filament.
    Fig 2: Attaching Probe Circuit Tester
    G03491749Courtesy of NISSAN MOTOR CO., U.S.A.
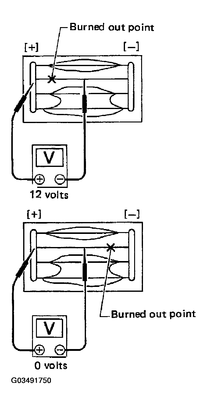
  3. If a filament is burned out, circuit tester registers 0 or battery voltage.
  4. To locate burned out point, move probe to left and right along filament. Test needle will swing abruptly when probe passes the point.
    Fig 3: Locating Burnt Out Point
    G03491750Courtesy of NISSAN MOTOR CO., U.S.A.