LEMON Manuals: Even more car manuals for everyone: 1960-2025
Home >> Nissan-Datsun >> 2004 >> Sentra SE-R >> Repair and Diagnosis >> External Pages >> Different car >> Section 1396 (Front Final Drive) >> Front Final Drive Assembly >> Disassembly and Assembly >> Disassembly >> Drive Pinion Assembly
April 5, 2026: LEMON Manuals is launched! Read the announcement.

Drive Pinion Assembly

WARNING: This page is about a different car, the 2005 Infiniti FX45 and 2005 Infiniti FX35. However, it is still accessible from the selected car via links, so may be relevant.
  1. Remove differential assembly. Refer to "DIFFERENTIAL ASSEMBLY ".
  2. Remove drive pinion lock nut with a flange wrench.
    Fig 1: Removing Drive Pinion Lock Nut With Flange Wrench
    G02367998Courtesy of NISSAN MOTOR CO., U.S.A.
  3. Put matching mark on the end of drive pinion. The matching mark should be in line with the matching mark A on companion flange.
    CAUTION: For matching mark, use paint. Do not damage companion flange and drive pinion.
    NOTE: The matching mark A on the final drive companion flange indicates the maximum vertical runout position. When replacing companion flange, matching mark is not necessary.
    Fig 2: Identifying Matching Mark On End Of Drive Pinion
    G02367999Courtesy of NISSAN MOTOR CO., U.S.A.
  4. Remove companion flange using the suitable puller.
    Fig 3: Removing Companion Flange Using Suitable Puller
    G02368000Courtesy of NISSAN MOTOR CO., U.S.A.
  5. Press drive pinion assembly out of gear carrier.
    CAUTION: Do not drop drive pinion assembly.
  6. Remove front oil seal.
  7. Remove pinion front bearing inner race.
  8. Remove drive pinion bearing adjusting washer and drive pinion adjusting washer.
    Fig 4: Pressing Drive Pinion Assembly Out Of Gear Carrier
    G02368001Courtesy of NISSAN MOTOR CO., U.S.A.
  9. Remove pinion rear bearing inner race and drive pinion height adjusting washer with replacer.
    1. Tool number: ST30031000 (J-22912-01) 
    Fig 5: Removing Pinion Rear Bearing Inner Race And Drive Pinion Height Adjusting Washer With Replacer
    G02368002Courtesy of NISSAN MOTOR CO., U.S.A.
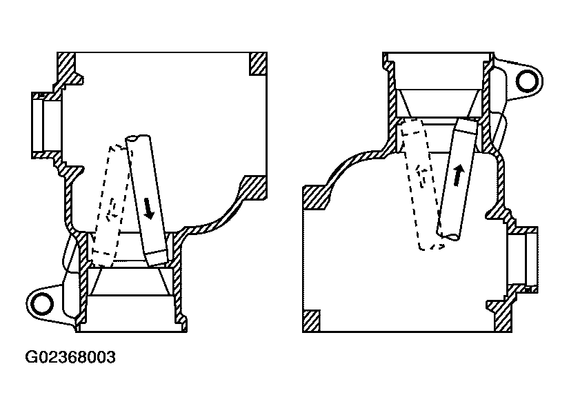
  10. Tap pinion front/rear bearing outer races uniformly a brass rod or equivalent to removed.
    CAUTION: Be careful not to damage gear carrier.
    Fig 6: Removing Pinion Front/Rear Bearing Outer Races
    G02368003Courtesy of NISSAN MOTOR CO., U.S.A.