LEMON Manuals: Even more car manuals for everyone: 1960-2025
Home >> Nissan-Datsun >> 2004 >> Sentra SE-R >> Repair and Diagnosis >> External Pages >> Different car >> Section 1514 (Accelerator Control System) >> Accelerator Control System >> Removal And Installation >> Inspection After Installation
April 5, 2026: LEMON Manuals is launched! Read the announcement.

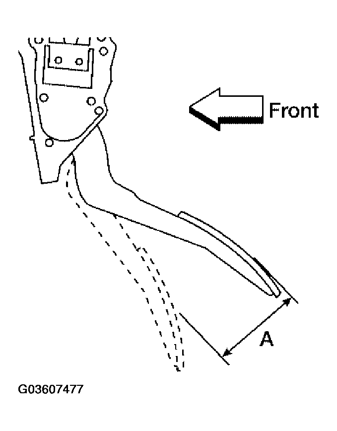
Inspection After Installation

WARNING: This page is about a different car, the 2005 Nissan Xterra. However, it is still accessible from the selected car via links, so may be relevant.