LEMON Manuals: Even more car manuals for everyone: 1960-2025
Home >> Nissan-Datsun >> 2004 >> Sentra SE-R >> Repair and Diagnosis >> External Pages >> Different car >> Section 1517 (Transfer Case) >> Transfer Assembly >> Disassembly and Assembly >> Disassembly
April 5, 2026: LEMON Manuals is launched! Read the announcement.

Disassembly and Assembly: Disassembly

WARNING: This page is about a different car, the 2005 Nissan Xterra. However, it is still accessible from the selected car via links, so may be relevant.
  1. Remove the drain plug and filler plug.
  2. Remove the transfer control device from the rear case.
  3. Remove the O-ring from the transfer control device.
    Fig 1: Removing Bolts And Transfer Control Device From Rear Case
    G03608350Courtesy of NISSAN MOTOR CO., U.S.A.
  4. Remove the self-lock nut from the companion flange, using Tool.

    Tool number: KV40104000 (-) 

    Fig 2: Removing Self-Lock Nut From Companion Flange, Using Tool
    G03608351Courtesy of NISSAN MOTOR CO., U.S.A.
  5. Put a matching mark on top of the front drive shaft in line with the mark on the companion flange.
    CAUTION: Use paint to make the matching mark on the front drive shaft. Do not damage the front drive shaft.
    Fig 3: Aligning Matching Mark On Top Of Front Drive Shaft In Line With Mark On Companion Flange
    G03608352Courtesy of NISSAN MOTOR CO., U.S.A.
  6. Remove the companion flange, using suitable tool.
    Fig 4: Removing Companion Flange, Using Suitable Tool
    G03608353Courtesy of NISSAN MOTOR CO., U.S.A.
  7. Remove the front oil seal from the front case, using Tool.

    Tool number: KV381054S0 (J-34286) 

    CAUTION: Do not damage front case or front drive shaft.
    Fig 5: Removing Front Oil Seal From Front Case, Using Tool
    G03608354Courtesy of NISSAN MOTOR CO., U.S.A.
  8. Remove the 4LO switch [gray (with green paint)] and ATP switch (black) from the front case.
    Fig 6: Removing 4LO Switch And ATP Switch From Front Case
    G03608355Courtesy of NISSAN MOTOR CO., U.S.A.
  9. Remove the wait detection switch (gray) from the rear case.
  10. Remove check plug, check shift spring and check ball (M/T models only).
    Fig 7: Removing Wait Detection Switch From Rear Case
    G03608356Courtesy of NISSAN MOTOR CO., U.S.A.
  11. Remove the dust cover from the rear case, using suitable tool.
    CAUTION: Do not damage rear case.
    Fig 8: Removing Dust Cover From Rear Case, Using Suitable Tool
    G03608357Courtesy of NISSAN MOTOR CO., U.S.A.
  12. Remove the rear oil seal from the rear case, using Tool.

    Tool number: KV381054S0 (J-34286) 

    CAUTION: Do not damage rear case or mainshaft.
    Fig 9: Removing Rear Oil Seal From Rear Case, Using Tool
    G03608358Courtesy of NISSAN MOTOR CO., U.S.A.
  13. Remove the input oil seal from the front case, using suitable tool.
    CAUTION: Do not damage front case, sun gear or input bearing.
    Fig 10: Removing Input Oil Seal From Front Case, Using Suitable Tool
    G03608359Courtesy of NISSAN MOTOR CO., U.S.A.
  14. Remove the retainer bolts and gaskets.
    Fig 11: Removing Transfer Retainer Bolts
    G03608360Courtesy of NISSAN MOTOR CO., U.S.A.
  15. Remove the rear case bolts and harness bracket from the rear case.
    Fig 12: Removing Rear Case Bolts And Harness Bracket From Rear Case
    G03608361Courtesy of NISSAN MOTOR CO., U.S.A.
  16. Separate the front case from the rear case. Then remove the rear case by prying it up, using suitable tool.
    CAUTION: Do not damage the mating surface.
  17. Remove the spacer from the control shift rod.
    CAUTION: Do not drop spacer.
    Fig 13: Removing Rear Case By Prying Up, Using Suitable Tool
    G03608362Courtesy of NISSAN MOTOR CO., U.S.A.
  18. Remove the snap ring from the mainshaft, using suitable tool.
    Fig 14: Removing Snap Ring From Mainshaft, Using Suitable Tool
    G03608363Courtesy of NISSAN MOTOR CO., U.S.A.
  19. Remove the mainshaft rear bearing from the mainshaft, using suitable tool.
  20. Remove the retainer from the mainshaft.
    Fig 15: Removing Mainshaft Rear Bearing From Mainshaft, Using Suitable Tool
    G03608364Courtesy of NISSAN MOTOR CO., U.S.A.
  21. Remove the snap ring from the mainshaft, using suitable tool.
  22. Remove the oil pump assembly from the mainshaft.
    Fig 16: Removing Snap Ring From Mainshaft, Using Suitable Tool (Oil Pump Assembly)
    G03608365Courtesy of NISSAN MOTOR CO., U.S.A.
  23. Remove the snap ring from the mainshaft, using suitable tool.
  24. Remove the clutch gear from the mainshaft.
    Fig 17: Removing Snap Ring From Mainshaft, Using Suitable Tool (Clutch Gear)
    G03608366Courtesy of NISSAN MOTOR CO., U.S.A.
  25. Remove the snap ring from the L-H shift rod assembly, using suitable tool.
  26. Remove the 2-4 sleeve and 2-4 shift fork assembly from the mainshaft.
    Fig 18: Removing Snap Ring From L-H Shift Rod Assembly, Using Suitable Tool
    G03608367Courtesy of NISSAN MOTOR CO., U.S.A.
  27. Remove the drive chain together with the sprocket and front drive shaft from the front case.
  28. Remove the mainshaft from the sun gear assembly.
  29. Remove the L-H shift rod assembly and control shift rod assembly from the front case.
  30. Remove the L-H sleeve together with the L-H shift fork from the planetary carrier assembly.
    Fig 19: Removing Drive Chain Together From Front Case
    G03608368Courtesy of NISSAN MOTOR CO., U.S.A.
  31. Remove the snap ring from the sun gear.
    CAUTION: Do not damage sun gear or input bearing.
    Fig 20: Removing Snap Ring From Sun Gear
    G03608369Courtesy of NISSAN MOTOR CO., U.S.A.
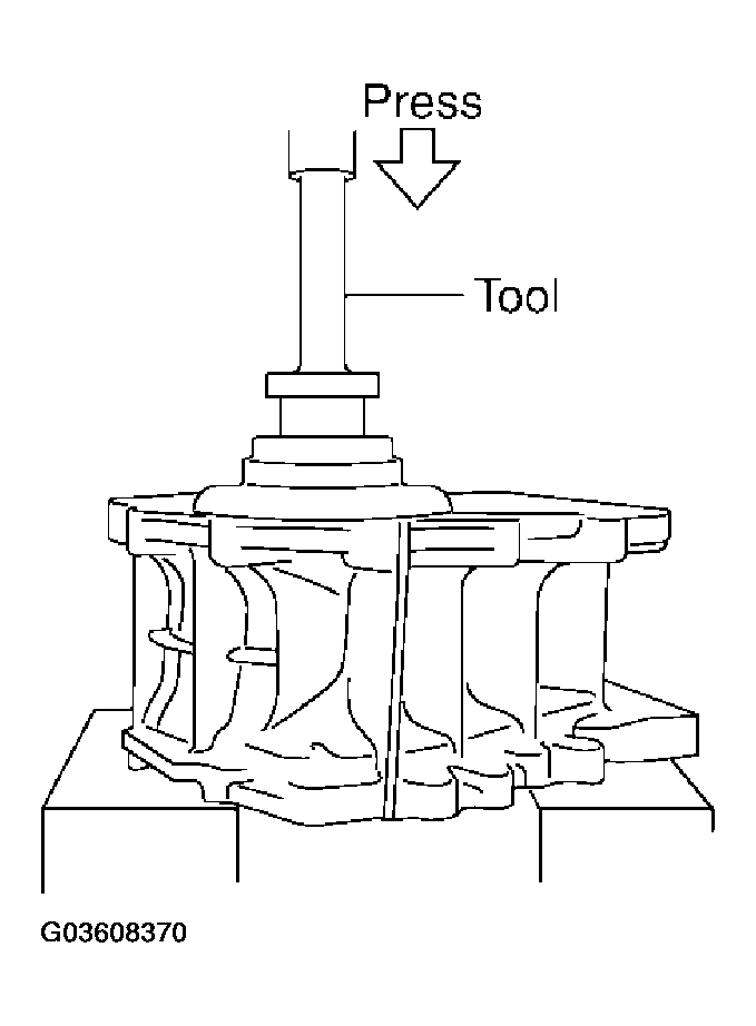
  32. Press the sun gear assembly and planetary carrier assembly from the front case, using Tool.

    Tool number: KV38100200 (-) 

    Fig 21: Pressing Sun Gear Assembly From Front Case
    G03608370Courtesy of NISSAN MOTOR CO., U.S.A.
  33. Remove the snap ring from the front case.
    Fig 22: Removing Snap Ring From Front Case
    G03608371Courtesy of NISSAN MOTOR CO., U.S.A.
  34. Remove the internal gear from the front case.
    Fig 23: Removing Internal Gear From Front Case
    G03608372Courtesy of NISSAN MOTOR CO., U.S.A.
  35. Remove the snap ring from the front case.
    Fig 24: Removing Snap Ring From Front Case
    G03608373Courtesy of NISSAN MOTOR CO., U.S.A.
  36. Remove the input bearing from the front case, using Tool.

    Tool number: KV38100200 (-) 

    Fig 25: Removing Input Bearing From Front Case, Using Tool
    G03608374Courtesy of NISSAN MOTOR CO., U.S.A.
  37. Remove the baffle plate from the front case.
  38. Remove the breather tube from the front case.
    Fig 26: Removing Baffle Plate From Front Case
    G03608375Courtesy of NISSAN MOTOR CO., U.S.A.