LEMON Manuals: Even more car manuals for everyone: 1960-2025
Home >> Nissan-Datsun >> 2004 >> Sentra SE-R >> Repair and Diagnosis >> External Pages >> Different car >> Section 1534 (Instrument Panel) >> Instrument Panel Assembly >> Removal and Installation >> Center Console >> Notes
April 5, 2026: LEMON Manuals is launched! Read the announcement.

Center Console: Notes

WARNING: This page is about a different car, the 2005 Nissan Xterra. However, it is still accessible from the selected car via links, so may be relevant.
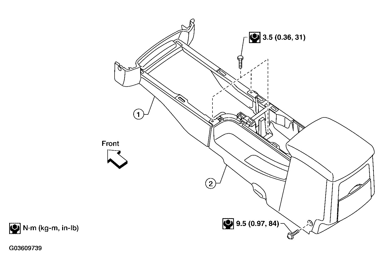
Fig 1: Center Console With Torque Specifications
G03609739Courtesy of NISSAN MOTOR CO., U.S.A.
  1. Remove cup holder finisher.
  2. Remove A/T or M/T finisher. Refer to "A/T FINISHER " or "M/T FINISHER ".
  3. Remove center console screws.
  4. Disconnect electrical connectors and remove center console.