LEMON Manuals: Even more car manuals for everyone: 1960-2025
Home >> Nissan-Datsun >> 2004 >> Sentra SE-R >> Repair and Diagnosis >> External Pages >> Different car >> Section 1563 (Transfer Case) >> Transfer Control Device >> Removal and Installation >> Installation
April 5, 2026: LEMON Manuals is launched! Read the announcement.

Removal and Installation: Installation

WARNING: This page is about a different car, the 2005 Nissan Titan. However, it is still accessible from the selected car via links, so may be relevant.
  1. Install O-ring to transfer control device.
    Fig 1: Installing O-Ring To Transfer Control Device
    G03602799Courtesy of NISSAN MOTOR CO., U.S.A.
    CAUTION:
    • Do not reuse O-ring.
    • Apply petroleum jelly.
  2. Install transfer control device.
    1. Turn control shift rod fully counterclockwise using flat-bladed screwdriver, and then put mark on control shift rod.
      Fig 2: Turning Control Shift Rod Fully Counterclockwise
      G03602800Courtesy of NISSAN MOTOR CO., U.S.A.
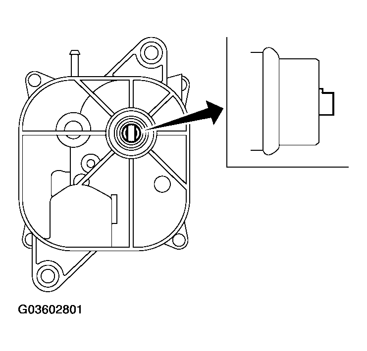
    2. Align transfer control device shaft cutout with mark on control shift rod, and install.
      NOTE: Turn transfer control device when transfer control device connection does not match.
      Fig 3: Aligning Transfer Control Device Shaft Cutout With Mark On Control Shift Rod
      G03602801Courtesy of NISSAN MOTOR CO., U.S.A.
    3. Tighten bolts to the specified torque. Refer to "COMPONENTS ".
  3. Fig 4: Tightening Bolts
    G03602802Courtesy of NISSAN MOTOR CO., U.S.A.
  4. Install breather hose to transfer control device.
  5. Connect transfer control device harness connector.
  6. After the installation, check 4WD shift indicator pattern. If NG, adjust position between transfer assembly and transfer control unit. Refer to "PRECAUTIONS FOR TRANSFER ASSEMBLY AND TRANSFER CONTROL UNIT REPLACEMENT ".