LEMON Manuals: Even more car manuals for everyone: 1960-2025
Home >> Nissan-Datsun >> 2004 >> Sentra SE-R >> Repair and Diagnosis >> External Pages >> Different car >> Section 1666 (Engine Mechanical) >> Preparation >> Commercial Service Tools
April 5, 2026: LEMON Manuals is launched! Read the announcement.

Commercial Service Tools

WARNING: This page is about a different car, the 2006 Nissan Pathfinder. However, it is still accessible from the selected car via links, so may be relevant.
COMMERCIAL SERVICE TOOLS DESCRIPTIONS

(Kent-Moore No.)
Tool name
Description
(-)
Power tool
G04083840
Loosening nuts and bolts
KV991J0100
(J-46531)
TORX socket
G04172604
Removing and installing flywheel
Size: T55 
(-)
Manual lift table caddy
G04172605
Removing and installing engine
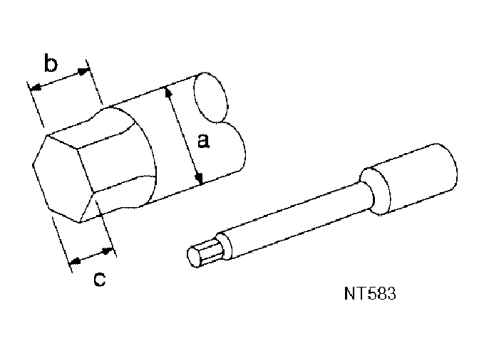
(J-24239-01)
Cylinder head bolt wrench
G04172606
Loosening and tightening cylinder head bolt, and used with angle wrench [SST: KV10112100 (BT8653-A)]
a: 13 (0.51) dia. 
b: 12 (0.47) 
c: 10 (0.39) 
Unit: mm (in)
(-)
Spark plug wrench
G04172607
Removing and installing spark plug
(-)
Valve seat cutter set
G04172608
Finishing valve seat dimensions
(-)
Piston ring expander
G04172609
Removing and installing piston ring
(-)
Valve guide drift
G04172610
Removing and installing valve guide
Intake and Exhaust: 
a: 9.5 mm (0.374 in) dia. 
b: 5.5 mm (0.217 in) dia. 
(-)
Valve guide reamer
G04172611
(1): Reaming valve guide inner hole
(2): Reaming hole for oversize valve guide
Intake and Exhaust: 
d1: 6.0 mm (0.236 in) dia. 
d2: 10.175 - 10.196 mm (0.4006 - 0.4014 in) dia. 
(J-43897-18)
(J-43897-12)
Oxygen sensor thread cleaner
G04074487
Reconditioning the exhaust system threads before installing a new heated oxygen sensor (Use with anti-seize lubricant shown below.)
a: J-43897-18 [18 mm (0.71 in) dia.] for zirconia heated oxygen sensor 
b: J-43897-12 [12 mm (0.47 in) dia.] for titania heated oxygen sensor 
(-)
Anti-seize lubricant (Permatex 133AR or equivalent meeting MIL specification MIL-A-907)
G04073208
Lubricating oxygen sensor thread cleaning tool when reconditioning exhaust system threads