LEMON Manuals: Even more car manuals for everyone: 1960-2025
Home >> Nissan-Datsun >> 2004 >> Sentra SE-R >> Repair and Diagnosis >> External Pages >> Different car >> Section 1773 (Transfer Case (Sedan)) >> AWD System >> System Diagram >> Notes
April 5, 2026: LEMON Manuals is launched! Read the announcement.

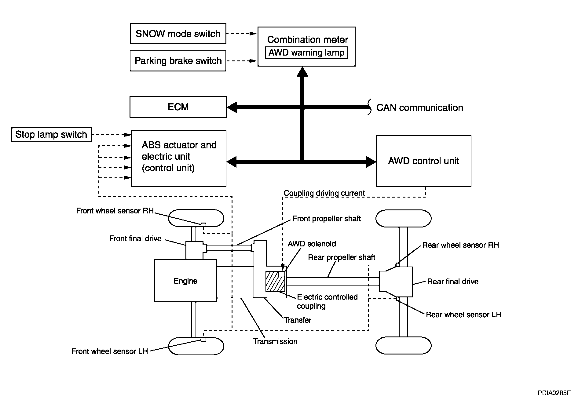
System Diagram: Notes

WARNING: This page is about a different car, the 2006 Infiniti G35. However, it is still accessible from the selected car via links, so may be relevant.
Fig 1: AWD System Diagram
G04121210Courtesy of NISSAN MOTOR CO., U.S.A.