LEMON Manuals: Even more car manuals for everyone: 1960-2025
Home >> Nissan-Datsun >> 2004 >> Sentra SE-R >> Repair and Diagnosis >> External Pages >> Different car >> Section 1852 (Engine Mechanical) >> Cylinder Block >> Disassembly and Assembly >> Disassembly >> Assembly
April 5, 2026: LEMON Manuals is launched! Read the announcement.

Disassembly and Assembly: Disassembly: Assembly

WARNING: This page is about a different car, the 2006 Nissan Xterra. However, it is still accessible from the selected car via links, so may be relevant.
  1. Fully air-blow engine coolant and engine oil passages in cylinder block, cylinder bore and crankcase to remove any foreign material.
    CAUTION: Use a goggles to protect your eye.
  2. Install each plug to cylinder block as shown below.
    • Apply sealant to the thread of water drain plugs "A" and "B".

      Use Genuine RTV Silicone Sealant or equivalent. Refer to " RECOMMENDED CHEMICAL PRODUCTS AND SEALANTS  " 

    • Apply sealant to the thread of plugs "C".

      Use Genuine High Strength Thread Locking Sealant or equivalent. Refer to " RECOMMENDED CHEMICAL PRODUCTS AND SEALANTS  "  .

    • Apply sealant to the thread of plug "D".

      Use Anaerobic Liquid Gasket or equivalent. Refer to " RECOMMENDED CHEMICAL PRODUCTS AND SEALANTS  "  .

      NOTE: For Canada, "D" in the figure is not plug but block heater. Refer to "DISASSEMBLY AND ASSEMBLY ".
    • Replace washers with new one.
      Fig 1: Locating Engine Block Drain Plugs And Block Heater
      G04146961Courtesy of NISSAN MOTOR CO., U.S.A.
    • Tighten each plug as specified below.

    Block Plug and Block Heater Installation 

    BLOCK PLUG AND BLOCK HEATER INSTALLATION

    Part Washer Tightening Torque
    A No 19.6 N.m (2.0 kg-m, 14 ft-lb)
    B Reuse No 9.8 N.m (1.0kg-m, 87in-lb)
    New 6.0 N.m (0.61 kg-m, 53 in-lb)
    C Yes 116 N.m (11.8 kg-m, 85 ft-lb)
    D Plug Yes 62 N.m (6.3 kg-m, 46 ft-lb)
    Block heater 73.5 N.m (7.5 kg-m, 54 ft-lb)
  3. Install oil jet.
    • Insert oil jet dowel pin into cylinder block dowel pin hole, and ' tighten bolts.
    Fig 2: Identifying Oil Jet Dowel Pin Into Cylinder Block Dowel Pin Hole
    G04202337Courtesy of NISSAN MOTOR CO., U.S.A.
  4. Install main bearings and thrust bearings as follows:
    1. Remove dust, dirt, and engine oil on bearing mating surfaces of cylinder block and main bearing caps.
    2. Install thrust bearings to the both sides of the No. 3 journal housing on cylinder block.
      • Install thrust bearings with the oil groove facing crankshaft arm (outside).
      • Install thrust bearing with a projection on one end on cylinder block, Align projection with mating notch.
      Fig 3: Identifying Thrust Bearing Installation Position
      G04202338Courtesy of NISSAN MOTOR CO., U.S.A.
    3. Install main bearings paying attention to the direction.
      • Main bearing with oil hole and groove goes on cylinder block. The one without them goes on lower cylinder block.
      • Before installing main bearings, apply engine oil to the bearing surface (inside). Do not apply engine oil to the back surface, but thoroughly clean it.
      • When installing, align main bearing stopper protrusion to cutout of cylinder block and lower cylinder block.
      • Ensure the oil holes on cylinder block and those on the corresponding bearing are aligned.
    Fig 4: Identifying Main Bearing Oil Hole And Oil Groove
    G04202339Courtesy of NISSAN MOTOR CO., U.S.A.
  5. Install crankshaft to cylinder block.
    • While turning crankshaft by hand, check that it turns smoothly.
  6. Inspect the outer diameter of lower cylinder block bolt. Refer to "LOWER CYLINDER BLOCK BOLT OUTER DIAMETER ".
  7. Install lower cylinder block as follows:
    NOTE: Lower cylinder block cannot be replaced as a single part, because it is machined together with cylinder block.
    1. Apply a continuous bead of liquid gasket using Tool to lower cylinder block as shown below.

      Tool number : WS39930000 (-) 

      Use Genuine RTV Silicone Sealant or equivalent. Refer to " RECOMMENDED CHEMICAL PRODUCTS AND SEALANTS  "  .

      CAUTION: After liquid gasket is applied, rear oil seal installation must be finished within 5 minutes. Therefore, the following procedure must be performed quickly.
    2. Tighten lower cylinder block as follows:
      Fig 5: Identifying Continuous Bead Of Liquid Gasket Using Tool To Lower Cylinder Block
      G04202340Courtesy of NISSAN MOTOR CO., U.S.A.
      1. Apply new engine oil to threads and seat surfaces of the bolts.
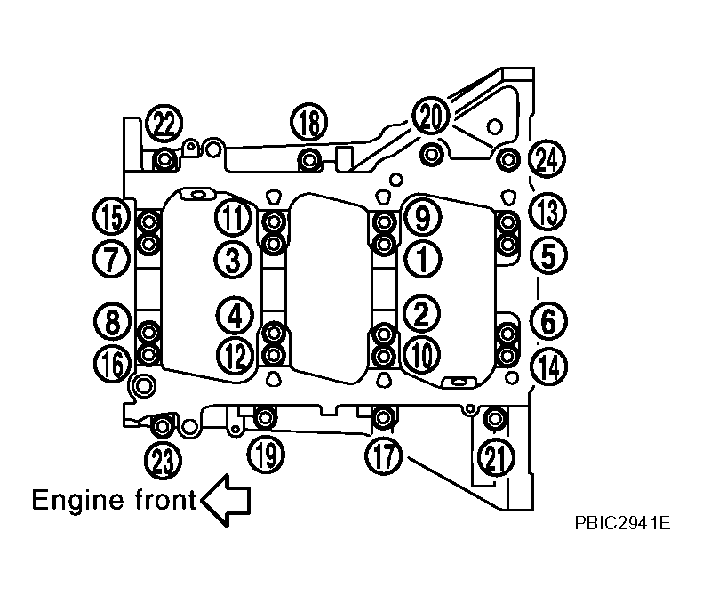
      2. Tighten M8 bolts in numerical order as shown below from No. 17 to 24.

        Bolts 17-24 : 22.1 N.m (2.3 kg-m, 16 ft-lb) 

        CAUTION: Wipe off completely any protruding liquid gasket on rear oil seal installation surface.
        NOTE: There are more processes to complete the tightening bolts. However stop procedure here to install rear oil seal.
    3. Install rear oil seal. Refer to "INSTALLATION ".
      Fig 6: Tightening Sequence Of Lower Cylinder Block Bolts (M8)
      G04202341Courtesy of NISSAN MOTOR CO., U.S.A.
    4. Restart tightening of lower cylinder block bolts as follows:
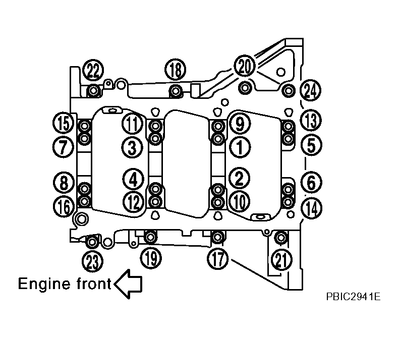
    1. Tighten M10 bolts in numerical order as shown below from No. 1 to 16.
      NOTE: Use TORX socket (size E14) for bolts No. 1 to 16 (M10 bolt).

      Bolts 1-16 : 35.3 N.m (3.6 kg-m, 26 ft-lb) 

      Fig 7: Tightening Sequence Of Lower Cylinder Block Bolts (M10)
      G04202342Courtesy of NISSAN MOTOR CO., U.S.A.
    2. Turn M10 bolts 90° clockwise in numerical order from No. 1 to 16 using Tool.

      Tool number : KV10112100 (BT-8653-A) 

      CAUTION: Use angle wrench Tool to check tightening angle. Do not make judgement by visual inspection.
      Fig 8: Checking Lower Cylinder Block Bolts Angle
      G04202343Courtesy of NISSAN MOTOR CO., U.S.A.
      • After installing the bolts, make sure that crankshaft can be rotated smoothly by hand.
      • Wipe off completely any protruding liquid gasket on front side of the engine.
      • Check the crankshaft end play. Refer to "CRANKSHAFT END PLAY ".
  8. Inspect the outer diameter of connecting rod bolt. Refer to "CONNECTING ROD BOLT OUTER DIAMETER ".
  9. Install piston to connecting rod as follows:
    1. Install new snap ring to the groove of piston rear side using suitable tool.
      • Insert it fully into groove to install.
    2. Install piston to connecting rod.
      • Using industrial use drier or similar tool, heat piston until piston pin can be pushed in by hand without excess force [approx. 60° to 70 °C (140° to 158 °F)]. From the front to the rear, insert piston pin into piston and connecting rod.
      • Assemble so that the front mark on the piston head and the cylinder number on connecting rod are positioned as shown below.
    3. Install new snap ring to the groove of the piston front side.
      • Insert it fully into groove to install.
      • After installing, make sure that connecting rod moves smoothly.
    Fig 9: Identifying Cylinder Number And Piston Grade Number
    G04202344Courtesy of NISSAN MOTOR CO., U.S.A.
  10. Install piston rings using piston ring expander or suitable tool.
    CAUTION:
    • When installing piston rings, be careful not to damage piston.
    • Be careful not to damage piston rings by expending them excessively.
    Fig 10: Installing Piston Rings Using Piston Ring Expander
    G04202345Courtesy of NISSAN MOTOR CO., U.S.A.
    • If there is stamped mark on ring, mount it with marked side up.
      NOTE: If there is no stamp on ring, no specific orientation is required for installation.

      Stamped mark: 

      1. Top ring : - 
      2. Second ring : R 
      Fig 11: Identifying Piston Rings Installation Position
      G04202346Courtesy of NISSAN MOTOR CO., U.S.A.
    • Position each ring with the gap as shown belowreferring to the piston front mark.
      Fig 12: Identifying Piston Ring Gap
      G04202347Courtesy of NISSAN MOTOR CO., U.S.A.
    • Check the piston ring side clearance. Refer to "PISTON RING SIDE CLEARANCE ".
  11. Install connecting rod bearings to connecting rod and connecting rod bearing cap.
    • Before installing connecting rod bearings, apply engine oil to the bearing surface (inside). Do not apply engine oil to the back surface, but thoroughly clean it.
    • When installing, align connecting rod bearing stopper protrusion with cutout of connecting rods and connecting rod bearing caps to install.
    • Ensure the oil hole on connecting rod and that on the corresponding bearing are aligned.
    Fig 13: Aligning Connecting Rod Bearing Stopper Protrusion With Connecting Rods And Connecting Rod Bearing Caps Cutout
    G04202348Courtesy of NISSAN MOTOR CO., U.S.A.
  12. Install piston and connecting rod assembly to crankshaft.
  13. Position crankshaft pin corresponding to connecting rod to be installed onto the bottom dead center.
  14. Apply engine oil sufficiently to the cylinder bore, piston and crankshaft pin journal.
  15. Match the cylinder position with the cylinder number on connecting rod to install.
    NOTE: Be sure that front mark on piston head is facing front of engine.
  16. Install piston with the front mark on the piston head facing the front of engine using Tool.

    Tool number : EM03470000 (J-8037) 

    CAUTION: Be careful not to damage the cylinder wall and crankshaft pin, resulting from an interference of the connecting rod big end.
    Fig 14: Installing Piston
    G04202349Courtesy of NISSAN MOTOR CO., U.S.A.
  17. Install connecting rod bearing cap.
    • Match the stamped cylinder number marks on connecting rod with those on connecting rod bearing cap to install.
    • Be sure that front mark on connecting rod bearing cap is facing front of engine.
    Fig 15: Matching Connecting Rod Stamped Cylinder Number Marks With Connecting Rod Bearing Cap Mark
    G04202350Courtesy of NISSAN MOTOR CO., U.S.A.
  18. Tighten connecting rod bolts as follows:
    1. Apply engine oil to the threads and seats of connecting rod bolts.
    2. Tighten connecting rod bolts.

      Connecting rod bolt : 19.6 N.m (2.0 kg-m, 14 ft-lb) 

  19. Then tighten all connecting rod bolts 90° clockwise.
    CAUTION: Always use Tool. Avoid tightening based on visual check alone.

    Tool number : KV10112100 (BT-8653-A) 

    • After tightening connecting rod bolts, make sure that crankshaft rotates smoothly.
    • Check the connecting rod side clearance. Refer to "CONNECTING ROD SIDE CLEARANCE ".
    Fig 16: Locating Connecting Rod Bolts
    G04202351Courtesy of NISSAN MOTOR CO., U.S.A.
  20. Install pilot converter (A/T models).
    • With drift of the following outer diameter, press-fit as far as it will go.

      Pilot converter : Approx. 33 mm (1.30 in) 

      Fig 17: Installing Pilot Converter (A/T Models)
      G04202352Courtesy of NISSAN MOTOR CO., U.S.A.
    • Press-fit pilot converter with its chamfer facing crankshaft as shown below. (A/T models)
    Fig 18: Identifying Pilot Converter Chamfer Face
    G04202353Courtesy of NISSAN MOTOR CO., U.S.A.
  21. Install knock sensors.
    • Install knock sensor so that connector faces rear of engine.
    • After installing knock sensor, connect harness connector, and lay it out to rear of engine.
      CAUTION:
      • Do not tighten bolts while holding connector.
      • If any impact by dropping is applied to knock sensor, replace it with new one.
      NOTE:
      • Make sure that there is no foreign material on the cylinder block mating surface and the back surface of knock sensor.
      • Make sure that knock sensor does not interfere with other parts.
    Fig 19: Identifying Knock Sensors
    G04202354Courtesy of NISSAN MOTOR CO., U.S.A.
  22. Assemble in the reverse order of disassembly after this step.

    Drive plate (A/T models) 

    • Install drive plate and reinforcement plate as shown below.
    • Holding ring gear using Tool.

      Tool number : KV10117700 (J-44716) 

    • Tighten bolts crosswise over several times.
Fig 20: Identifying Drive Plate And Reinforcement Plate
G04202355Courtesy of NISSAN MOTOR CO., U.S.A.