LEMON Manuals: Even more car manuals for everyone: 1960-2025
Home >> Nissan-Datsun >> 2004 >> Sentra SE-R >> Repair and Diagnosis >> External Pages >> Different car >> Section 1852 (Engine Mechanical) >> Cylinder Block >> Disassembly and Assembly >> Disassembly >> Notes
April 5, 2026: LEMON Manuals is launched! Read the announcement.

Disassembly and Assembly: Disassembly: Notes

WARNING: This page is about a different car, the 2006 Nissan Xterra. However, it is still accessible from the selected car via links, so may be relevant.
  1. Remove engine assembly from vehicle. Refer to "REMOVAL ".
  2. Remove both exhaust manifolds. Refer to "REMOVAL AND INSTALLATION ".
  3. Lift engine, and mount it onto engine stand.
    Fig 1: Mounting Engine Onto Engine Stand
    G04202325Courtesy of NISSAN MOTOR CO., U.S.A.
    • A widely use engine stand can be used.
      CAUTION: Use engine stand that has a load capacity [approximately 220 kg (441 lb) or more] large enough for supporting the engine weight.
    Fig 2: Identifying Engine Stand
    G04202326Courtesy of NISSAN MOTOR CO., U.S.A.
  4. Drain engine oil. Refer to "CHANGING ENGINE OIL ".
  5. Drain engine coolant by removing water drain plugs from cylinder block left side at "A" and cylinder block front side at "B" as shown in the figure below.
    NOTE: For Canada, "D" in the figure is not plug but block heater.
    Fig 3: Locating Engine Block Drain Plugs And Block Heater
    G04146961Courtesy of NISSAN MOTOR CO., U.S.A.
  6. Remove drive plate (A/T models); using Tool.

    Tool number : KV10117700 (J-44716) 

    • Loosen bolts in diagonal order.
    • Use TORX socket for drive plate bolts.
    CAUTION:
    • Do not disassemble drive plate (A/T models).
    • Do not place drive plate (A/T models) with signal plate facing down.
    • When handling signal plate, take care not to damage or scratch it.
    • Handle signal plate in a manner that prevents it from becoming magnetized.
    Fig 4: Identifying Drive Plate
    G04202328Courtesy of NISSAN MOTOR CO., U.S.A.
  7. Remove cylinder head. Refer to "REMOVAL ".
  8. Remove sub harness, and remove knock sensors.
    CAUTION: Carefully handle sensor avoiding shocks.
  9. Remove pilot converter (A/T models) using Tool as necessary.

    Tool number : ST16610001 (J-23907) 

    Fig 5: Removing Pilot Converter (A/T Models)
    G04202329Courtesy of NISSAN MOTOR CO., U.S.A.
  10. Remove piston and connecting rod assembly as follows:
    • Before removing piston and connecting rod assembly, check the connecting rod side clearance. Refer to "CONNECTING ROD SIDE CLEARANCE ".
      CAUTION: Be careful not to drop connecting rod bearing, and to scratch the surface.
  11. Position crankshaft pin corresponding to connecting rod to be removed onto the bottom dead center.
  12. Remove connecting rod bearing cap.
  13. Push piston and connecting rod assembly out to the cylinder head side using suitable tool.
    CAUTION: Be careful not to damage the cylinder wall and crankshaft pin, resulting from an interference of the connecting rod big end.
    Fig 6: Removing Piston And Connecting Rod Assembly
    G04202330Courtesy of NISSAN MOTOR CO., U.S.A.
  14. Remove connecting rod bearings from connecting rod and connecting rod bearing cap.
    CAUTION: Identify installation position, and store them without mixing them up.
  15. Remove piston rings form piston.
    • Before removing piston rings, check the piston ring side clearance. Refer to "PISTON RING SIDE CLEARANCE ".
    • Remove piston rings using piston ring expander or suitable tool.
    CAUTION:
    • When removing piston rings, be careful not to damage piston.
    • Be careful not to damage piston rings by expanding them excessively.
    Fig 7: Removing Piston Rings From Piston
    G04202331Courtesy of NISSAN MOTOR CO., U.S.A.
  16. Remove piston from connecting rod as follows:
    1. Remove snap ring using snap ring pliers.
      Fig 8: Removing Snap Ring Using Snap Ring Pliers
      G04202332Courtesy of NISSAN MOTOR CO., U.S.A.
    2. Heat piston to 60° to 70°C (140° to 158°F) with industrial use drier or equivalent.
      Fig 9: Heating Piston With Industrial Use Drier
      G04202333Courtesy of NISSAN MOTOR CO., U.S.A.
    3. Push out piston pin with stick of outer diameter approximately 20 mm (0.79 in).
    Fig 10: Removing Piston Pin
    G04202334Courtesy of NISSAN MOTOR CO., U.S.A.
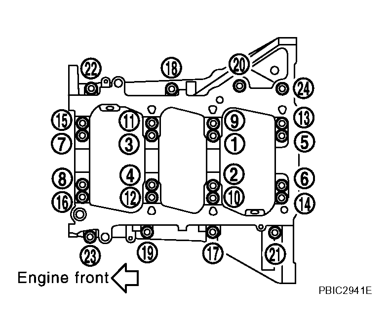
  17. Remove lower cylinder block bolts.
    • Before loosening lower cylinder block bolts, measure the crankshaft end play. Refer to "CRANKSHAFT END PLAY ".
    • Loosen lower cylinder block bolts in reverse order as shown below in several different steps.
      NOTE: Use TORX socket (size E14) for bolts No. 1 to 16 (M10 bolt).
    Fig 11: Lower Cylinder Block Bolts (With Tightening Sequence)
    G04202335Courtesy of NISSAN MOTOR CO., U.S.A.
  18. Remove lower cylinder block.
    • Cut liquid gasket for removal. Refer to "REMOVAL OF LIQUID GASKET SEALING ".

      Tool number : KV10111100 (J-37228) 

      CAUTION: Be careful not to damage the mounting surfaces.
  19. Remove crankshaft.
  20. Pull rear oil seal out from rear end of crankshaft.
    NOTE: When replacing rear oil seal without removing lower cylinder block, use a suitable tool to pull the rear oil seal installed between crankshaft and cylinder block out.
    CAUTION: Be careful not to damage crankshaft and cylinder block.
  21. Remove main bearings and thrust bearings from cylinder block and lower cylinder block.
    CAUTION:
    • Be careful not to drop main bearing, and to scratch the surface.
    • Identify installation positions, and store them without mixing them up.
  22. Remove oil jet.