LEMON Manuals: Even more car manuals for everyone: 1960-2025
Home >> Nissan-Datsun >> 2004 >> Sentra SE-R >> Repair and Diagnosis >> External Pages >> Different car >> Section 1873 (Front Axle) >> Preparation >> Special Service Tools
April 5, 2026: LEMON Manuals is launched! Read the announcement.

Special Service Tools

WARNING: This page is about a different car, the 2006 Nissan Xterra. However, it is still accessible from the selected car via links, so may be relevant.

The actual shapes of Kent-Moore tools may differ from those of special service tools illustrated here.

SPECIAL SERVICE TOOLS

Tool number (Kent-Moore No.) Tool name Description
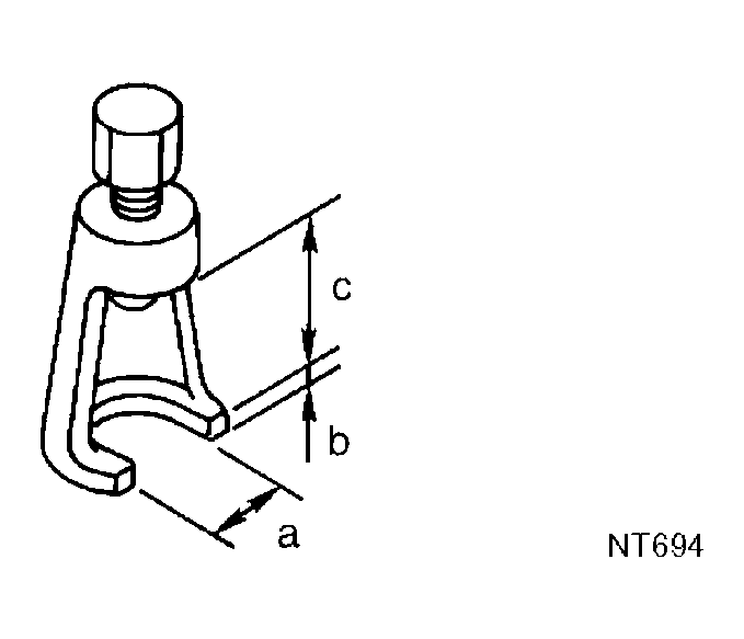
ST29020001 (J-24319-01) Gear arm puller
G04204920
Removing ball joint for steering knuckle
a: 34 mm (1.34 in) 
b: 6.5 mm (0.256 in) b: 6.5 mm (0.256 in) 
c: 61.5 mm (2.421 in) 
KV38105500 (J-33904) Protector
G04204921
Installing drive shaft
a: 32 mm (1.26 in) dia 
KV40107300 ( - ) Boot band crimping tool
G04204922
Installing boot bands