LEMON Manuals: Even more car manuals for everyone: 1960-2025
Home >> Nissan-Datsun >> 2004 >> Sentra SE-R >> Repair and Diagnosis >> External Pages >> Different car >> Section 1874 (Front Suspension System) >> Preparation >> Special Service Tools
April 5, 2026: LEMON Manuals is launched! Read the announcement.

Special Service Tools

WARNING: This page is about a different car, the 2006 Nissan Xterra. However, it is still accessible from the selected car via links, so may be relevant.

The actual shapes of Kent-Moore tools may differ from those of special service tools illustrated here.

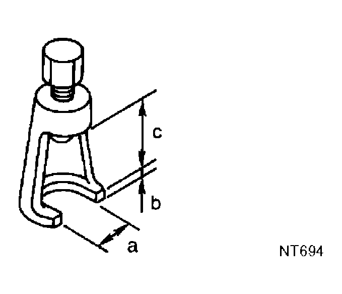
SPECIAL SERVICE TOOLS CHART

Tool number
(Kent-Moore No.)
Tool name
Description
ST29020001 (J-24319-01) Gear arm puller
G04204988
Removing ball joint for knuckle
a: 34 mm (1.34 in) 
b: 6.5 mm (0.256 in) 
c: 61.5 mm (2.421 in) 
HT72520000 (J-25730-A) Ball joint remover
G04134782
Removing tie-rod outer end