LEMON Manuals: Even more car manuals for everyone: 1960-2025
Home >> Nissan-Datsun >> 2004 >> Sentra SE-R >> Repair and Diagnosis >> External Pages >> Different car >> Section 1928 (Air Conditioning) >> Air Conditioning Unit >> Reassembly
April 5, 2026: LEMON Manuals is launched! Read the announcement.

Air Conditioning Unit: Reassembly

WARNING: This page is about a different car, the 2006 Scion tC. However, it is still accessible from the selected car via links, so may be relevant.
  1. INSTALL COOLER EVAPORATOR SUB-ASSEMBLY 
    1. Sufficiently apply compressor oil to 2 new O-rings and the fitting surface of the cooler evaporator.

      Compressor oil: ND-OIL 8 or equivalent 

    2. Install the 2 O-rings on the cooler evaporator.
    Fig 1: Installing O-Rings On Cooler Evaporator
    G04223540Courtesy of © TOYOTA, LICENSE AGREEMENT TMS1002
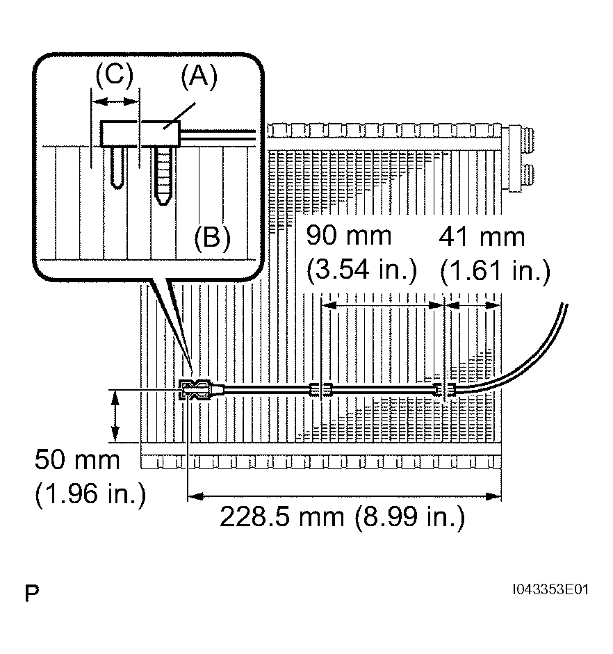
  2. INSTALL EVAPORATOR TEMPERATURE SENSOR 
    1. Install the evaporator temperature sensor as shown in the illustration.
    2. Check that the sensor sticks to the evaporator surface as shown in the illustration (A: Sensor, B: Evaporator).
      NOTE: If reusing the evaporator, DO NOT insert the sensor to the position that it had been inserted before. Insert it between position C shown in the illustration.
      Fig 2: Installing Evaporator Temperature Sensor
      G04223541Courtesy of © TOYOTA, LICENSE AGREEMENT TMS1002
    3. Install the cooler evaporator on the heater case with the 7 screws.
      Fig 3: Installing Cooler Evaporator On Heater Case With Screws
      G04223542Courtesy of © TOYOTA, LICENSE AGREEMENT TMS1002
    4. Install the plate with the 2 screws.
    Fig 4: Installing Plate With Screws
    G04223543Courtesy of © TOYOTA, LICENSE AGREEMENT TMS1002
  3. INSTALL COOLER EXPANSION VALVE 
    1. Install the cooler expansion valve to the cooler evaporator.
    Fig 5: Installing Cooler Expansion Valve To Cooler Evaporator
    G04223544Courtesy of © TOYOTA, LICENSE AGREEMENT TMS1002
  4. INSTALL AIR CONDITIONING TUBE ASSEMBLY 
    1. Sufficiently apply compressor oil to 2 new O-rings and the fitting surface of the air conditioning tube.

      Compressor oil: ND-OIL 8 or equivalent 

      Fig 6: Applying Compressor Oil To 2 New O-Rings
      G04223545Courtesy of © TOYOTA, LICENSE AGREEMENT TMS1002
    2. Using a 4 mm hexagon wrench, install the air conditioning tube with the 2 hexagon bolts.

      Torque: 3.5 N*m (35 kgf*cm, 30 in.*lbf) 

      Fig 7: Installing Air Conditioning Tube With Hexagon Bolts
      G04223546Courtesy of © TOYOTA, LICENSE AGREEMENT TMS1002
    3. Install the cover with the claw and 2 screws.
    Fig 8: Installing Cover With Claw And Screws
    G04223547Courtesy of © TOYOTA, LICENSE AGREEMENT TMS1002
  5. INSTALL HEATER RADIATOR UNIT SUB-ASSEMBLY 
    1. Install the heater radiator unit.
      Fig 9: Installing Heater Radiator Unit
      G04223548Courtesy of © TOYOTA, LICENSE AGREEMENT TMS1002
    2. Attach the 3 claws and install the clamp.
    Fig 10: Attaching Claws And Installing Clamp
    G04223549Courtesy of © TOYOTA, LICENSE AGREEMENT TMS1002
  6. INSTALL HEATER PIPING COVER 
    1. Attach the 3 claws and install the heater piping cover.
    Fig 11: Attaching Claws And Installing Heater Piping Cover
    G04223550Courtesy of © TOYOTA, LICENSE AGREEMENT TMS1002
  7. INSTALL AIR MIX CONTROL SERVO MOTOR 
    1. Install the air mix control servo motor with the 2 screws.
    Fig 12: Installing Air Mix Control Servo Motor With Screws
    G04223551Courtesy of © TOYOTA, LICENSE AGREEMENT TMS1002
  8. INSTALL AIR OUTLET CONTROL SERVO MOTOR 
    1. Install the air outlet control servo motor with the 3 screws.
    Fig 13: Installing Air Outlet Control Servo Motor With Screws
    G04223552Courtesy of © TOYOTA, LICENSE AGREEMENT TMS1002
  9. INSTALL AIR DUCT 
    1. Attach the 2 claws and install the air duct.
    Fig 14: Attaching Claws And Installing Air Duct
    G04223553Courtesy of © TOYOTA, LICENSE AGREEMENT TMS1002
  10. INSTALL NO. 1 COOLER UNIT DRAIN HOSE 
    1. Install the cooler unit drain hose.
    Fig 15: Installing Cooler Unit Drain Hose
    G04223554Courtesy of © TOYOTA, LICENSE AGREEMENT TMS1002