LEMON Manuals: Even more car manuals for everyone: 1960-2025
Home >> Nissan-Datsun >> 2004 >> Sentra SE-R >> Repair and Diagnosis >> External Pages >> Different car >> Section 1928 (Air Conditioning) >> Heater Control Assembly >> Components
April 5, 2026: LEMON Manuals is launched! Read the announcement.

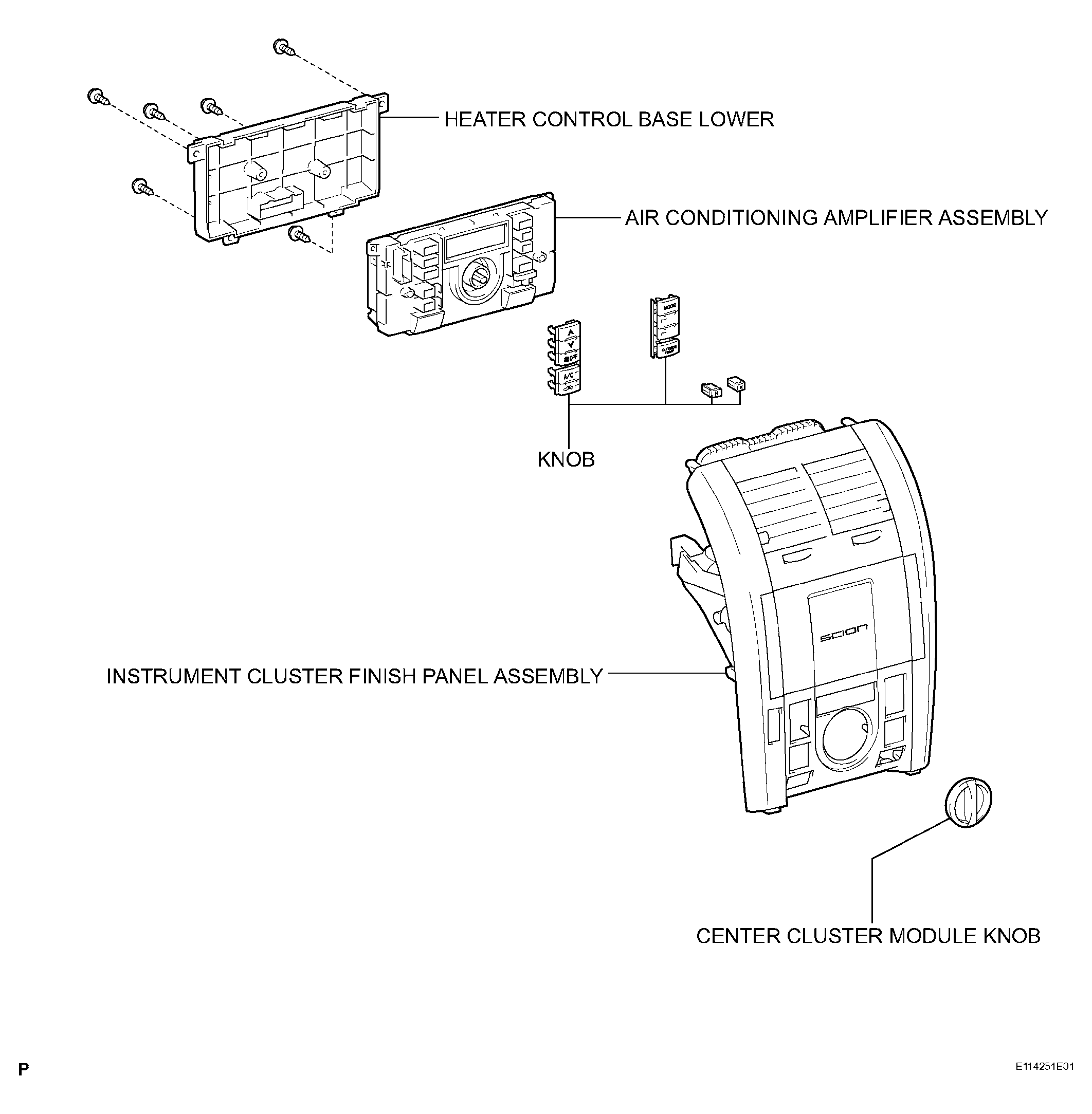
Heater Control Assembly: Components

WARNING: This page is about a different car, the 2006 Scion tC. However, it is still accessible from the selected car via links, so may be relevant.
Fig 1: Identifying Heater Control Assembly Components
G04223637Courtesy of © TOYOTA, LICENSE AGREEMENT TMS1002