LEMON Manuals: Even more car manuals for everyone: 1960-2025
Home >> Nissan-Datsun >> 2004 >> Sentra SE-R >> Repair and Diagnosis >> External Pages >> Different car >> Section 1941 (Engine Immobilizer) >> Unlock Warning Switch >> Installation
April 5, 2026: LEMON Manuals is launched! Read the announcement.

Unlock Warning Switch: Installation

WARNING: This page is about a different car, the 2006 Scion tC. However, it is still accessible from the selected car via links, so may be relevant.
  1. INSTALL UNLOCK WARNING SWITCH ASSEMBLY 
    1. Install the unlock warning switch assembly.
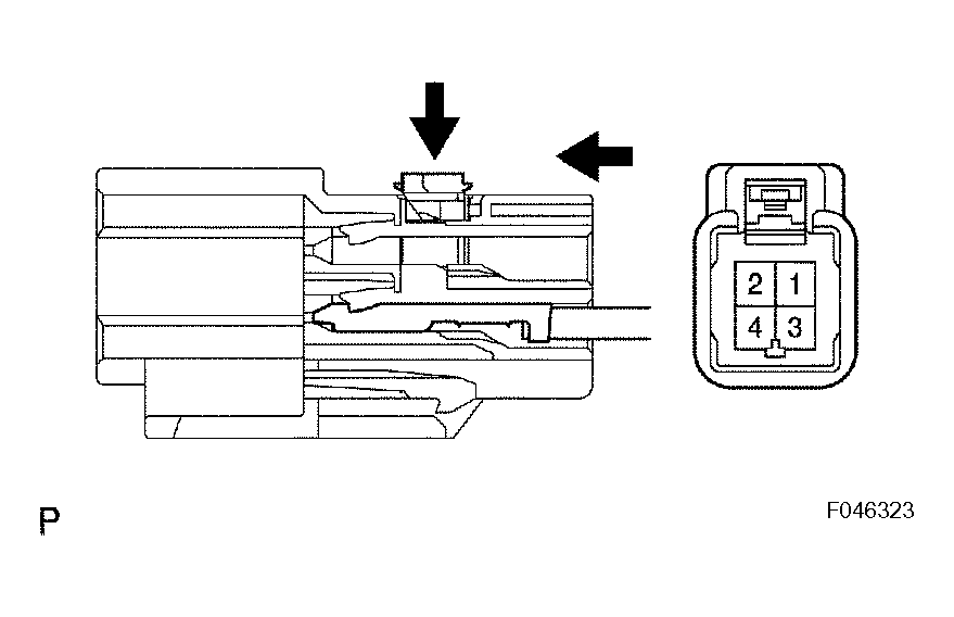
    2. Automatic transaxle:

      Connect terminals 3 and 4 of the unlock warning switch connector.

      Fig 1: Connecting Unlock Warning Switch Assembly Connector To Ignition Switch
      G04224100Courtesy of © TOYOTA, LICENSE AGREEMENT TMS1002
    3. Connect the unlock warning switch assembly connector to the ignition switch.
    4. Manual transaxle:

      Secure the unlock warning switch wire harness to the steering column upper bracket with a new clamp as shown in the illustration.

      NOTE: Do not overtighten the clamp when securing the wire harness as the wire harness could be cut.
      Fig 2: Securing Unlock Warning Switch Wire Harness To Steering Column Upper Bracket (M/T)
      G04224101Courtesy of © TOYOTA, LICENSE AGREEMENT TMS1002
    5. Automatic transaxle:

    Secure the unlock warning switch wire harness to the steering column upper bracket as shown in the illustration.

    Fig 3: Securing Unlock Warning Switch Wire Harness To Steering Column Upper Bracket (A/T)
    G04224102Courtesy of © TOYOTA, LICENSE AGREEMENT TMS1002
  2. INSTALL STEERING COLUMN COVER 
    1. Install the steering column cover lower and steering column cover upper with the 2 screws.

    HINT:

    • Tilt the steering column assembly to the lowermost position when installing the steering column cover upper.
    • Tilt it to the uppermost position when installing the steering column cover lower.
  3. CONNECT CABLE TO NEGATIVE BATTERY TERMINAL 
  4. PERFORM INITIALIZATION 
  1. Perform initialization (see INITIALIZATION ).
NOTE: Certain systems need to be initialized after disconnecting and reconnecting the cable from the negative (-) battery terminal.