LEMON Manuals: Even more car manuals for everyone: 1960-2025
Home >> Nissan-Datsun >> 2004 >> Sentra SE-R >> Repair and Diagnosis >> External Pages >> Different car >> Section 1943 (Mirror) >> Power Mirror Control System >> Inspection
April 5, 2026: LEMON Manuals is launched! Read the announcement.

Power Mirror Control System: Inspection

WARNING: This page is about a different car, the 2006 Scion tC. However, it is still accessible from the selected car via links, so may be relevant.
  1. INSPECT OUTER MIRROR SWITCH ASSEMBLY 
    1. Select L on the left/right adjustment switch:

      Measure the resistance of the switch.

      Standard resistance 

      TESTER CONNECTION AND SPECIFIED CONDITION

      Tester Connection Switch Condition Specified Condition
      4 (VL) - 8 (B)
      6 (M+) - 7 (E)
      UP Below 1 Ω
      4 (VL) - 7 (E)
      6 (M+) - 8 (B)
      DOWN Below 1 Ω
      5 (HL) - 8 (B)
      6 (M+) - 7 (E)
      LEFT Below 1 Ω
      5 (HL) - 7 (E)
      6 (M+) - 8 (B)
      RIGHT Below 1 Ω

      If the result is not as specified, replace the switch assembly.

    2. Select R on the left/right adjustment switch:

      Measure the resistance of the switch.

      Standard resistance 

      Fig 1: Inspecting Outer Mirror Switch Assembly
      G04224495Courtesy of © TOYOTA, LICENSE AGREEMENT TMS1002
      TESTER CONNECTION AND SPECIFIED CONDITION

      Tester Connection Switch Condition Specified Condition
      3 (VR) - 8 (B)
      6 (M+) - 7 (E)
      UP Below 1 Ω
      3 (VR) - 7 (E)
      6 (M+) - 8 (B)
      DOWN Below 1 Ω
      2 (HR) - 8 (B)
      6 (M+) - 7 (E)
      LEFT Below 1 Ω
      2 (HR) - 7 (E)
      6 (M+) - 8 (B)
      RIGHT Below 1 Ω

      If the result is not as specified, replace the switch assembly.

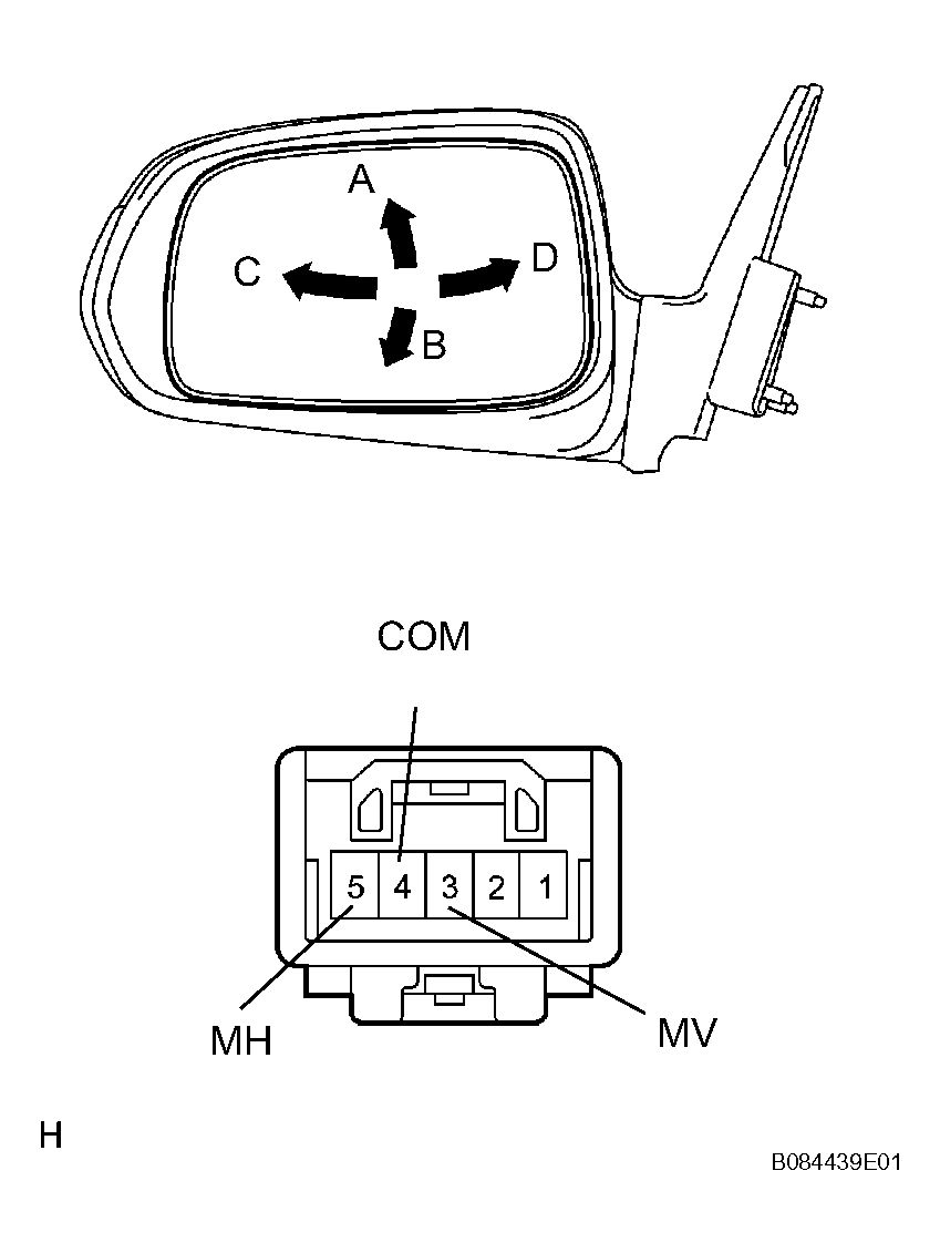
  2. INSPECT OUTER REAR VIEW MIRROR ASSEMBLY LH 
    1. Disconnect the mirror connector.
    2. Apply battery voltage to the mirror and check the operation of the mirror.

      OK 

      MEASUREMENT CONDITION AND MIRROR CONDITION

      Measurement Condition Mirror Condition
      Battery positive (+) --> 3 (MV)
      Battery negative (-) --> 4 (COM)
      Turns upward (A)
      Battery positive (+) --> 4 (COM)
      Battery negative (-) --> 3 (MV)
      Turns downward (B)
      Battery positive (+) --> 5 (MH)
      Battery negative (-) --> 4 (COM)
      Turns left (C)
      Battery positive (+) --> 4 (COM)
      Battery negative (-) --> 5 (MH)
      Turns right (D)

      If the result is not as specified, replace the mirror assembly.

      Fig 2: Inspecting Outer Rear View Mirror Assembly LH
      G04224496Courtesy of © TOYOTA, LICENSE AGREEMENT TMS1002
  3. INSPECT OUTER REAR VIEW MIRROR ASSEMBLY RH 
    1. Disconnect the mirror connector.
    2. Apply battery voltage to the mirror and check the operation of the mirror.

      OK 

      MEASUREMENT CONDITION AND MIRROR CONDITION

      Measurement Condition Mirror Condition
      Battery positive (+) --> 3 (MV)
      Battery negative (-) --> 4 (COM)
      Turns upward (A)
      Battery positive (+) --> 4 (COM)
      Battery negative (-) --> 3 (MV)
      Turns downward (B)
      Battery positive (+) --> 5 (MH)
      Battery negative (-) --> 4 (COM)
      Turns left (C)
      Battery positive (+) --> 4 (COM)
      Battery negative (-) --> 5 (MH)
      Turns right (D)

      If the result is not as specified, replace the mirror assembly.

      Fig 3: Inspecting Outer Rear View Mirror Assembly RH
      G04224497Courtesy of © TOYOTA, LICENSE AGREEMENT TMS1002