LEMON Manuals: Even more car manuals for everyone: 1960-2025
Home >> Nissan-Datsun >> 2004 >> Sentra SE-R >> Repair and Diagnosis >> External Pages >> Different car >> Section 1950 (Engine Control System - VK45DE) >> Basic Service Procedure >> Basic Inspection
April 5, 2026: LEMON Manuals is launched! Read the announcement.

Basic Inspection

WARNING: This page is about a different car, the 2005 Infiniti FX45. However, it is still accessible from the selected car via links, so may be relevant.
  1. INSPECTION START 
    1. Check service records for any recent repairs that may indicate a related malfunction, or a current need for scheduled maintenance.
    2. Open engine hood and check the following:
      • Harness connectors for improper connections
      • Wiring harness for improper connections, pinches and cut
      • Vacuum hoses for splits, kinks and improper connections
      • Hoses and ducts for leaks
      • Air cleaner clogging
      • Gasket
    3. Confirm that electrical or mechanical loads are not applied.
      • Headlamp switch is OFF.
      • Air conditioner switch is OFF.
      • Rear window defogger switch is OFF.
      • Steering wheel is in the straight-ahead position, etc.
      Fig 1: Checking Harness Connectors And Hoses
      G02361274Courtesy of NISSAN MOTOR CO., U.S.A.
    4. Start engine and warm it up until engine coolant temperature indicator points the middle of gauge.

      Ensure engine stays below 1,000 RPM.

      Fig 2: Identifying Engine Coolant Temperature Indicator Points
      G02361275Courtesy of NISSAN MOTOR CO., U.S.A.
    5. Run engine at about 2,000 RPM for about 2 minutes under no load.
    6. Make sure that no DTC is displayed with CONSULT-II or GST.

    OK or NG

    1. OK: GO TO  3 .
    2. NG: GO TO 2.
    Fig 3: Identifying Run Engine At About 2,000 RPM
    G02361276Courtesy of NISSAN MOTOR CO., U.S.A.
  2. REPAIR OR REPLACE 

    Repair or replace components as necessary according to corresponding Diagnostic Procedure.

    1. : GO TO 3
  3. CHECK TARGET IDLE SPEED 

    With CONSULT-II 

    1. Run engine at about 2,000 RPM for about 2 minutes under no load.
    2. Rev engine (2,000 to 3,000 RPM) two or three times under no load, then run engine at idle speed for about 1 minute.
      Fig 4: Checking Target Idle Speed
      G02361277Courtesy of NISSAN MOTOR CO., U.S.A.
    3. Read idle speed in "DATA MONITOR" mode with CONSULT-II. Refer to IDLE SPEED  .
      1. 650 +/- 50 RPM (in P or N position) 
      Fig 5: Identifying CONSULT-II Display Screen Data Monitor
      G02361278Courtesy of NISSAN MOTOR CO., U.S.A.

    Without CONSULT-II 

    1. Run engine at about 2,000 RPM for about 2 minutes under no load.
    2. Rev engine (2,000 to 3,000 RPM) two or three times under no load, then run engine at idle speed for about 1 minute.
    3. Check idle speed. Refer to IDLE SPEED  .
      1. 650 +/- 50 RPM (in P or N position) 

    OK or NG

    1. OK: GO TO  10 .
    2. NG: GO TO 4.
  4. PERFORM ACCELERATOR PEDAL RELEASED POSITION LEARNING 
    1. Stop engine.
    2. Perform "ACCELERATOR PEDAL RELEASED POSITION LEARNING  ".
      1. : GO TO 5.
  5. PERFORM THROTTLE VALVE CLOSED POSITION LEARNING 

    Perform "THROTTLE VALVE CLOSED POSITION LEARNING  ".

    1. : GO TO 6.
  6. PERFORM IDLE AIR VOLUME LEARNING 

    Refer to "IDLE AIR VOLUME LEARNING  ".

    Is Idle Air Volume Learning carried out successfully? 

    Yes or No

    1. Yes: GO TO 7.
    2. No:
      1. Follow the instruction of Idle Air Volume Learning.
      2. GO TO  4 .
  7. CHECK TARGET IDLE SPEED AGAIN 

    With CONSULT-II 

    1. Start engine and warm it up to normal operating temperature.
    2. Read idle speed in "DATA MONITOR" mode with CONSULT-II. Refer to IDLE SPEED  .
      1. 650 +/- 50 RPM (in P or N position) 

    Without CONSULT-II 

    1. Start engine and warm it up to normal operating temperature.
    2. Check idle speed. Refer to IDLE SPEED  .
      1. 650 +/- 50 RPM (in P or N position) 
      Fig 6: Identifying CONSULT-II Display Screen Data Monitor
      G02361279Courtesy of NISSAN MOTOR CO., U.S.A.

    OK or NG

    1. OK: GO TO  10 .
    2. NG: GO TO 8.
  8. DETECT MALFUNCTIONING PART 

    Check the Following.

    OK or NG

    1. OK: GO TO 9.
    2. NG:
      1. Repair or replace.
      2. GO TO  4 .
  9. CHECK ECM FUNCTION 
    1. Substitute another known-good ECM to check ECM function. (ECM may be the cause of an incident, but this is a rare case.)
    2. Perform initialization of IVIS (NATS) system and registration of all IVIS (NATS) ignition key IDs. Refer to "ECM RE-COMMUNICATING FUNCTION ".
      1. : GO TO  4 .
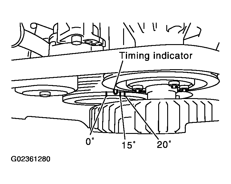
  10. CHECK IGNITION TIMING 
    1. Run engine at idle.
    2. Check ignition timing with a timing light. Refer to IDLE SPEED AND IGNITION TIMING CHECK  .
      1. 12 +/- 5° BTDC (in P or N position) 

    OK or NG

    1. OK: GO TO  19 .
    2. NG: GO TO 11.
    Fig 7: Checking Ignition Timing
    G02361280Courtesy of NISSAN MOTOR CO., U.S.A.
  11. PERFORM ACCELERATOR PEDAL RELEASED POSITION LEARNING 
    1. Stop engine.
    2. Perform "ACCELERATOR PEDAL RELEASED POSITION LEARNING  ".
      1. : GO TO 12.
  12. PERFORM THROTTLE VALVE CLOSED POSITION LEARNING 

    Perform "THROTTLE VALVE CLOSED POSITION LEARNING  ".

    1. : GO TO 13.
  13. PERFORM IDLE AIR VOLUME LEARNING 

    Refer to "IDLE AIR VOLUME LEARNING  ".

    Is Idle Air Volume Learning carried out successfully? 

    Yes or No

    1. Yes: GO TO 14.
    2. No:
      1. Follow the instruction of Idle Air Volume Learning.
      2. GO TO  4 .
  14. CHECK TARGET IDLE SPEED AGAIN 

    With CONSULT-II 

    1. Start engine and warm it up to normal operating temperature.
    2. Read idle speed in "DATA MONITOR" mode with CONSULT-II. Refer to IDLE SPEED  .
      1. 650 +/- 50 RPM (in P or N position) 

    Without CONSULT-II 

    1. Start engine and warm it up to normal operating temperature.
    2. Check idle speed. Refer to IDLE SPEED  .
      1. 650 +/- 50 RPM (in P or N position) 

    OK or NG

    1. OK: GO TO 15.
    2. NG: GO TO  17 .
    Fig 8: Identifying CONSULT-II Display Screen Data Monitor
    G02361281Courtesy of NISSAN MOTOR CO., U.S.A.
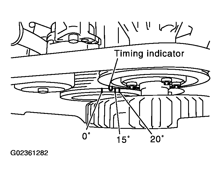
  15. CHECK IGNITION TIMING AGAIN 
    1. Run engine at idle.
    2. Check ignition timing with a timing light. Refer to IDLE SPEED AND IGNITION TIMING CHECK  .
      1. 12 +/- 5° BTDC (in P or N position) 

    OK or NG

    1. OK: GO TO  19 .
    2. NG: GO TO 16.
    Fig 9: Checking Ignition Timing
    G02361282Courtesy of NISSAN MOTOR CO., U.S.A.
  16. CHECK TIMING CHAIN INSTALLATION 

    Check timing chain installation. Refer to "TIMING CHAIN ".

    OK or NG

    1. OK: GO TO 17.
    2. NG:
      1. Repair the timing chain installation.
      2. GO TO  4 .
  17. DETECT MALFUNCTIONING PART 

    Check the following.

    OK or NG

    1. OK: GO TO 18.
    2. NG:
      1. Repair or replace.
      2. GO TO  4 .
  18. CHECK ECM FUNCTION 
    1. Substitute another known-good ECM to check ECM function. (ECM may be the cause of an incident, but this is a rare case.)
    2. Perform initialization of IVIS (NATS) system and registration of all IVIS (NATS) ignition key IDs. Refer to "ECM RE-COMMUNICATING FUNCTION ".
      1. : GO TO  4 .
  19. INSPECTION END 

    Did you replace ECM, referring this Basic Inspection procedure?

    Yes or No

    1. Yes:
      1. Perform "VIN REGISTRATION  ".
      2. INSPECTION END 
    2. No: INSPECTION END