LEMON Manuals: Even more car manuals for everyone: 1960-2025
Home >> Nissan-Datsun >> 2004 >> Sentra SE-R >> Repair and Diagnosis >> External Pages >> Different car >> Section 1963 (Front Final Drive - Sedan) >> Front Final Drive Assembly >> Disassembly and Assembly >> Assembly >> Differential Assembly
April 5, 2026: LEMON Manuals is launched! Read the announcement.

Differential Assembly

WARNING: This page is about a different car, the 2005 Infiniti G35. However, it is still accessible from the selected car via links, so may be relevant.
  1. Install side gear thrust washers with the same thickness as the ones installed prior to disassembly or reinstall the old ones on the side gears.
    Fig 1: Installing Side Gear Thrust Washers
    G02350486Courtesy of NISSAN MOTOR CO., U.S.A.
  2. Install side gears and thrust washers into differential case.
    CAUTION:
    • Do not reuse circular clip.
    • Make sure that the circular clip is installed to side gear (side retainer side).
  3. Align 2 pinion mate gears in diagonally opposite positions, then rotate and install them into differential case after installing thrust washer to pinion mate gear.
    Fig 2: Installing Side Gears And Thrust Washers Into Differential Case
    G02350487Courtesy of NISSAN MOTOR CO., U.S.A.
  4. Align the lock pin holes on differential case with shaft, and install pinion mate shaft.
  5. Measure side gear end play. If necessary, select the appropriate side gear thrust washers. Refer to "DIFFERENTIAL SIDE GEAR CLEARANCE ".
    Fig 3: Aligning Lock Pin Holes On Differential Case With Shaft
    G02350488Courtesy of NISSAN MOTOR CO., U.S.A.
  6. Drive a lock pin into pinion mate shaft, using a punch. Make sure lock pin is flush with differential case.
    CAUTION: Do not reuse lock pin.
    Fig 4: Driving A Lock Pin Into Pinion Mate Shaft
    G02350489Courtesy of NISSAN MOTOR CO., U.S.A.
  7. Align the matching mark of drive gear with the mark of differential case, then place drive gear.
    Fig 5: Aligning Matching Mark Of Drive Gear With Mark Of Differential Case
    G02350490Courtesy of NISSAN MOTOR CO., U.S.A.
  8. Apply thread locking sealant into the thread hole of drive gear.
    • Use Genuine Medium Strength Thread Locking Sealant or equivalent. Refer to  RECOMMENDED CHEMICAL PRODUCTS AND SEALANTS  . 
      CAUTION: Drive gear back and threaded holes shall be cleaned and degreased sufficiently.
      Fig 6: Applying Thread Locking Sealant Into Thread Hole Of Drive Gear
      G02350491Courtesy of NISSAN MOTOR CO., U.S.A.
  9. Install drive gear on the mounting bolts, and then tighten to the specified torque. Refer to "COMPONENTS ".
    CAUTION: Tighten bolts in a crisscross fashion.
    Fig 7: Installing Drive Gear On Mounting Bolts
    G02350492Courtesy of NISSAN MOTOR CO., U.S.A.
  10. Press side bearing inner races to differential case, using the drift and the base.

    Tool number A: ST33230000 (J-25805-01) 

    B: ST33061000 (J-8107-2) 

    CAUTION: Do not reuse side bearing inner race.
    Fig 8: Pressing Side Bearing Inner Races To Differential Case
    G02350493Courtesy of NISSAN MOTOR CO., U.S.A.
  11. Press-fit side bearing outer race into side retainer with the drift and the drift bar.

    Tool number A: KV31103000 (J-38982) 

    B: ST30611000 (J-25742-1) 

    CAUTION:
    • At first, using a hammer, tap bearing outer race until it becomes flat to side retainer.
    • Do not reuse side bearing outer race.
      Fig 9: Press-Fitting Side Bearing Outer Race Into Side Retainer With Drift
      G02350494Courtesy of NISSAN MOTOR CO., U.S.A.
  12. Press-fit side bearing outer race into gear carrier with the drift and the drift bar.

    Tool number A: KV31103000 (J-38982) 

    B: ST30611000 (J-25742-1) 

    CAUTION:
    • At first, using a hammer, tap bearing outer race until it becomes flat to gear carrier.
    • Do not reuse side bearing outer race.
      Fig 10: Pressing-Fit Side Bearing Outer Race Into Gear Carrier With Drift And Drift Bar
      G02350495Courtesy of NISSAN MOTOR CO., U.S.A.
  13. Place the differential case assembly into gear carrier.
  14. Measure side bearing preload. If necessary, select the appropriate side bearing adjusting shim. Refer to "SIDE BEARING PRELOAD ".
    Fig 11: Placing Differential Case Assembly Into Gear Carrier
    G02350496Courtesy of NISSAN MOTOR CO., U.S.A.
  15. Install selected side bearing adjusting shim.
  16. Apply multi-purpose grease to O-ring, and install it to side retainer.
    CAUTION: Do not reuse O-ring.
  17. Install side retainer assembly to gear carrier.
    Fig 12: Installing Selected Side Bearing Adjusting Shim
    G02350497Courtesy of NISSAN MOTOR CO., U.S.A.
  18. Install side retainer mounting bolts to the specified torque. Refer to "COMPONENTS ".
    Fig 13: Installing Side Retainer Mounting Bolts
    G02350498Courtesy of NISSAN MOTOR CO., U.S.A.
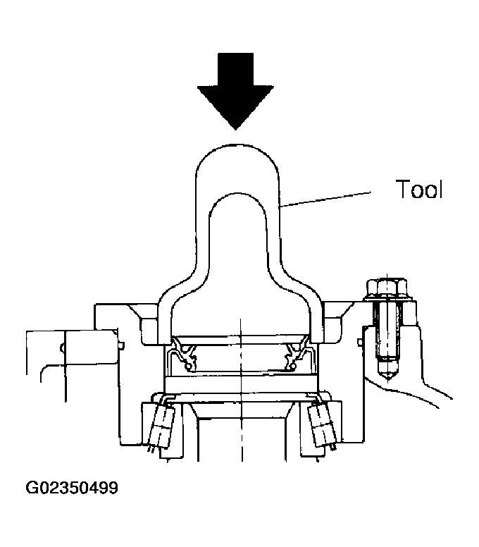
  19. Using the drift, press-fit side oil seal so that its surface comes face to face with the end surface of the side retainer.

    Tool number : ST33400001 (J-26082) 

    CAUTION:
    • Do not reuse oil seal.
    • When installing, do not incline oil seal.
    • Apply multi-purpose grease onto oil seal lips, and gear oil onto the circumference of oil seal.
      Fig 14: Press-Fitting Side Oil Seal
      G02350499Courtesy of NISSAN MOTOR CO., U.S.A.
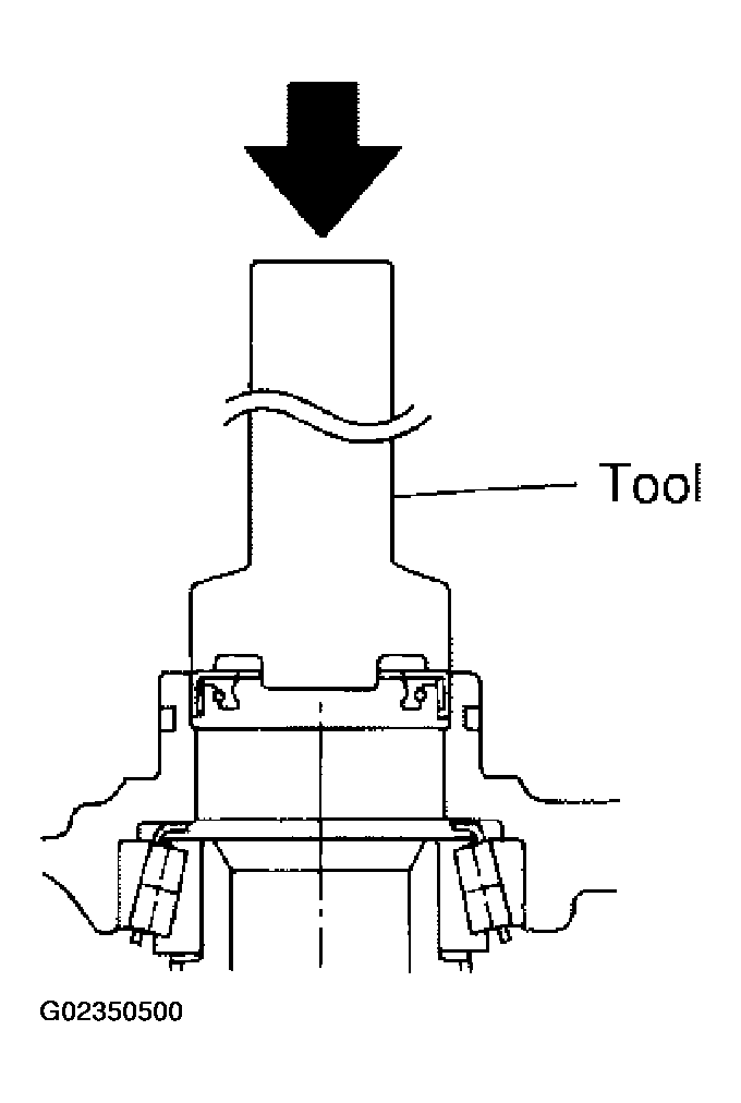
  20. Using the drift, press-fit side oil seal so that its surface comes face to face with the end surface of gear carrier.

    Tool number : KV38102100 (J-25803-01) 

    CAUTION:
    • Do not reuse oil seal.
    • When installing, do not incline oil seal.
    • Apply multi-purpose grease onto oil seal lips, and gear oil onto the circumference of oil seal.
  21. Apply multi-purpose grease to O-ring, and install it to gear carrier.
    CAUTION: Do not reuse O-ring.
  22. Check and adjust drive gear runout, tooth contact, drive gear to drive pinion backlash, and total preload torque. Refer to "DRIVE GEAR RUNOUT ", "TOOTH CONTACT ", "BACKLASH ", "TOTAL PRELOAD TORQUE ".

    Recheck above items. Readjust the above description, if necessary.

    Fig 15: Press-Fitting Side Oil Seal
    G02350500Courtesy of NISSAN MOTOR CO., U.S.A.
  23. Apply sealant to mating surface of carrier cover.
    • Use Genuine Silicone RTV or equivalent. Refer to  RECOMMENDED CHEMICAL PRODUCTS AND SEALANTS  . 
      CAUTION: Remove old sealant adhering to mounting surfaces. Also remove any moisture, oil, or foreign material adhering to application and mounting surfaces.
      Fig 16: Applying Sealant To Mating Surface Of Carrier Cover
      G02350501Courtesy of NISSAN MOTOR CO., U.S.A.
  24. Install carrier cover on gear carrier and tighten mounting bolts with the specified torque. Refer to "COMPONENTS ".
    Fig 17: Tightening Mounting Bolts
    G02350502Courtesy of NISSAN MOTOR CO., U.S.A.