LEMON Manuals: Even more car manuals for everyone: 1960-2025
Home >> Nissan-Datsun >> 2004 >> Sentra SE-R >> Repair and Diagnosis >> External Pages >> Different car >> Section 2033 (Front Axle) >> Service Data And Specifications (SDS) >> Damper
April 5, 2026: LEMON Manuals is launched! Read the announcement.

Service Data And Specifications (SDS): Damper

WARNING: This page is about a different car, the 2007 Nissan Quest. However, it is still accessible from the selected car via links, so may be relevant.
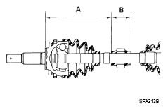
DAMPER SPECIFICATIONS

G04889274Courtesy of NISSAN MOTOR CO., U.S.A.
"A" 205 - 215 mm (8.07 -8.46 in)
"B" 70 mm (2.76 in)