LEMON Manuals: Even more car manuals for everyone: 1960-2025
Home >> Nissan-Datsun >> 2004 >> Sentra SE-R >> Repair and Diagnosis >> External Pages >> Different car >> Section 380 (Automatic Transmission) >> A/T Control System >> Engine Brake Control
April 5, 2026: LEMON Manuals is launched! Read the announcement.

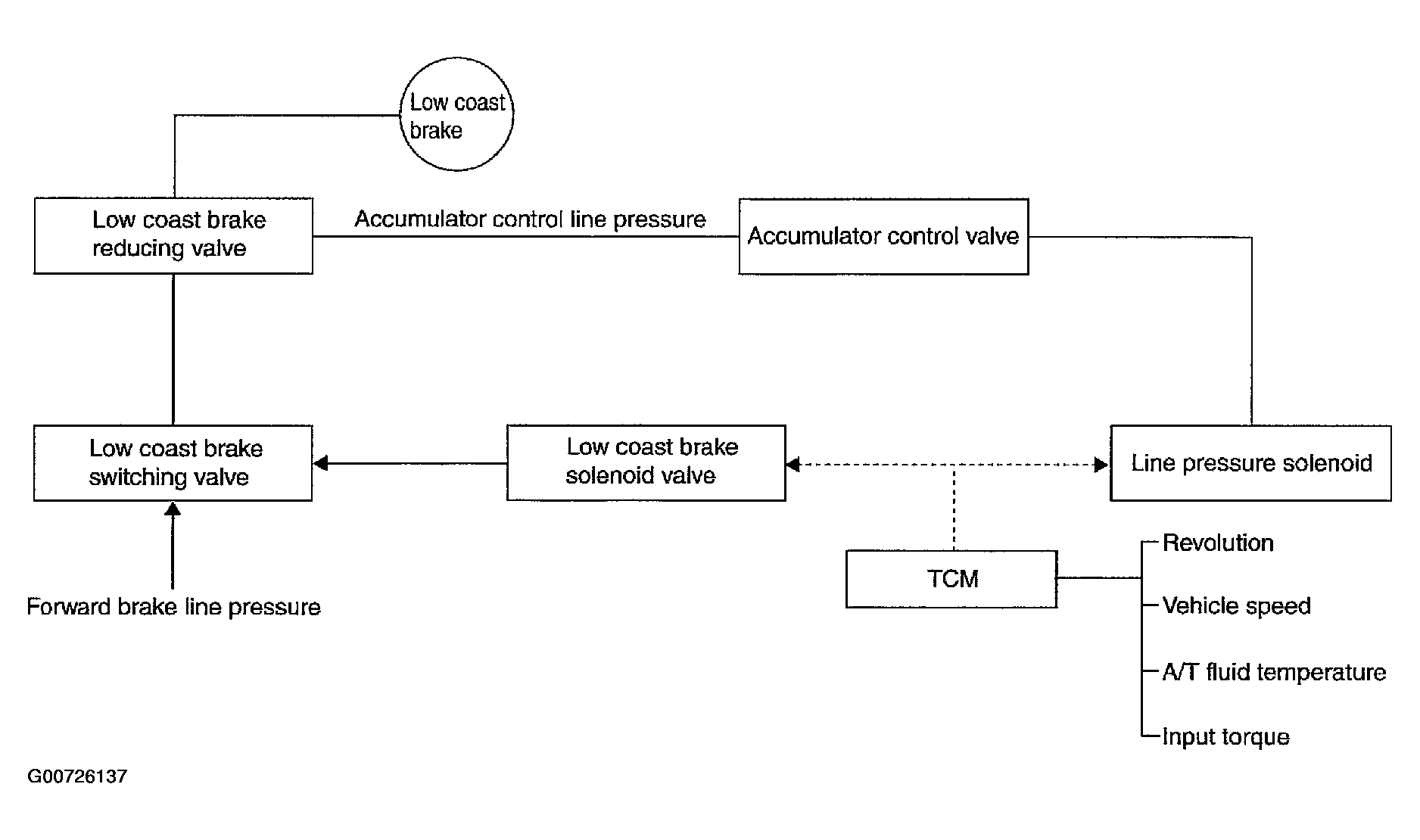
Engine Brake Control

WARNING: This page is about a different car, the 2004 Nissan Titan. However, it is still accessible from the selected car via links, so may be relevant.