LEMON Manuals: Even more car manuals for everyone: 1960-2025
Home >> Nissan-Datsun >> 2004 >> Sentra SE-R >> Repair and Diagnosis >> External Pages >> Different car >> Section 401 (Automatic Air Conditioner) >> Air Conditioner Control >> Description Of Control System
April 5, 2026: LEMON Manuals is launched! Read the announcement.

Description Of Control System

WARNING: This page is about a different car, the 2004 Infiniti M45. However, it is still accessible from the selected car via links, so may be relevant.

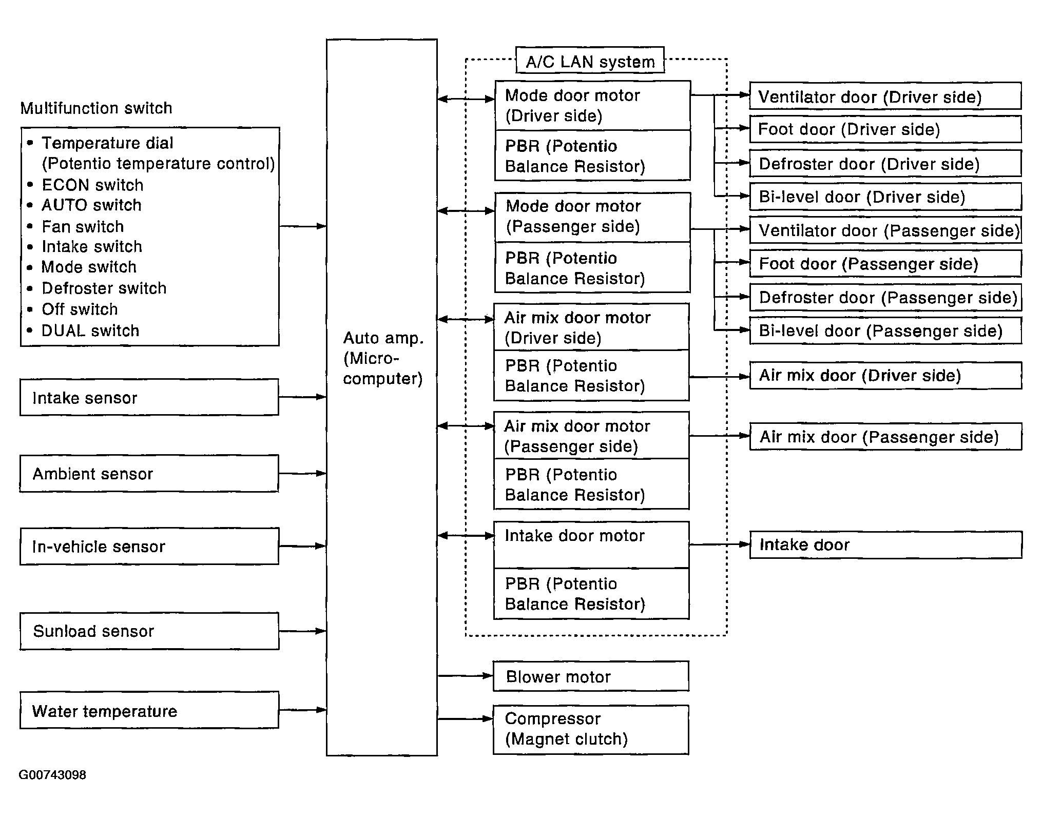
The control system consists of input sensors, switches, the auto amp. (microcomputer) and outputs.

The relationship of these components is shown below:

Fig 1: Identifying Control System Inputs & Outputs
G00743098Courtesy of NISSAN MOTOR CO., U.S.A.