LEMON Manuals: Even more car manuals for everyone: 1960-2025
Home >> Nissan-Datsun >> 2004 >> Sentra SE-R >> Repair and Diagnosis >> External Pages >> Different car >> Section 560 (Body Control Module - Sedan) >> BCM (Body Control Module) >> System Description >> Combination Switch Reading Function >> Sample operation: (When lighting switch 1ST position turned ON)
April 5, 2026: LEMON Manuals is launched! Read the announcement.

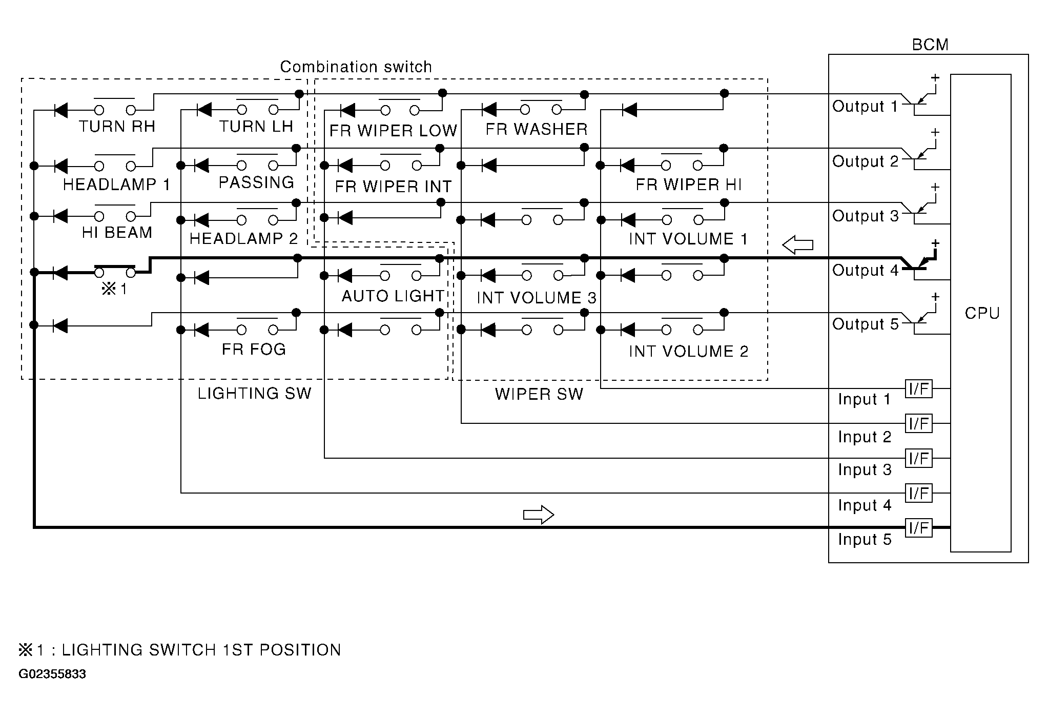
Sample operation: (When lighting switch 1ST position turned ON)

WARNING: This page is about a different car, the 2005 Infiniti G35. However, it is still accessible from the selected car via links, so may be relevant.
NOTE: Each OUTPUT terminal transistor is activated at 10 ms intervals. Therefore after switch is turned ON, electrical loads are activated with time delay. But this time delay is so short that it cannot be detected by human senses.