LEMON Manuals: Even more car manuals for everyone: 1960-2025
Home >> Nissan-Datsun >> 2004 >> Sentra SE-R >> Repair and Diagnosis >> External Pages >> Different car >> Section 794 (Automatic Transmission) >> Repair For Component Parts >> Control Valve Assembly >> Assembly
April 5, 2026: LEMON Manuals is launched! Read the announcement.

Control Valve Assembly: Assembly

WARNING: This page is about a different car, the 2003 Nissan Altima. However, it is still accessible from the selected car via links, so may be relevant.
  1. Install upper, inter and lower body.
    1. Place oil circuit of upper body face up. Install steel balls in their proper positions.
      Fig 1: Identifying Steel Balls In Upper Body
      G02161151Courtesy of NISSAN MOTOR CO., U.S.A.
    2. Install upper separating gasket, upper inter separating gasket and upper separating plate in order shown in illustration.
      Fig 2: Identifying Installation Order Of Upper Separating Gasket, Upper Inter Separating Gasket And Upper Separating Plate
      G02161152Courtesy of NISSAN MOTOR CO., U.S.A.
    3. Install reamer bolts from bottom of upper body. Using reamer bolts as guides, install separating plate and gaskets as a set.
      Fig 3: Installing Separating Plate And Gaskets On Upper Body
      G02161153Courtesy of NISSAN MOTOR CO., U.S.A.
    4. Install pilot filter.
      Fig 4: Installing Pilot Filter
      G02161154Courtesy of NISSAN MOTOR CO., U.S.A.
    5. Place lower body as shown in illustration (side of inter body face up). Install steel balls in their proper positions.
      Fig 5: Identifying Steel Balls Position In Lower Body
      G02161155Courtesy of NISSAN MOTOR CO., U.S.A.
    6. Install inter body on upper body using reamer bolts as guides.
      • Be careful not to dislocate or drop steel balls. 
      Fig 6: Installing Inter Body On Upper Body
      G02161156Courtesy of NISSAN MOTOR CO., U.S.A.
    7. Install check balls and oil cooler relief valve springs in their proper positions in lower body.
      Fig 7: Identifying Position Of Check Balls And Oil Cooler Relief Valve Springs In Lower Body
      G02161157Courtesy of NISSAN MOTOR CO., U.S.A.
    8. Install lower separating gasket, lower inter separating gasket and lower separating plate in order shown in illustration.
      Fig 8: Identifying Installation Order Of Lower Separating Gasket, Lower Inter Separating Gasket And Lower Separating Plate
      G02161158Courtesy of NISSAN MOTOR CO., U.S.A.
    9. Install bolts from bottom of lower body. Using bolts e as guides, install separating plate and gaskets as a set.
      Fig 9: Installing Separating Plate And Gasket, Support Plates On Lower Body
      G02161159Courtesy of NISSAN MOTOR CO., U.S.A.
    10. Temporarily install support plates on lower body.
    11. Install lower body on inter body using reamer bolts as guides and tighten reamer bolts slightly.
      Fig 10: Installing Lower Body On Inter And Upper Body
      G02161160Courtesy of NISSAN MOTOR CO., U.S.A.
  2. Install O-rings to solenoid valves and terminal body.
    • Apply ATF to O-rings. 
    Fig 11: Installing O-Rings To Solenoid Valves And Terminal Body
    G02161161Courtesy of NISSAN MOTOR CO., U.S.A.
  3. Install and tighten bolts.

    Bolt length, number and location: 

    Fig 12: Control Valve Assembly Bolt Length, Number And Location Chart
    G02161162Courtesy of NISSAN MOTOR CO., U.S.A.
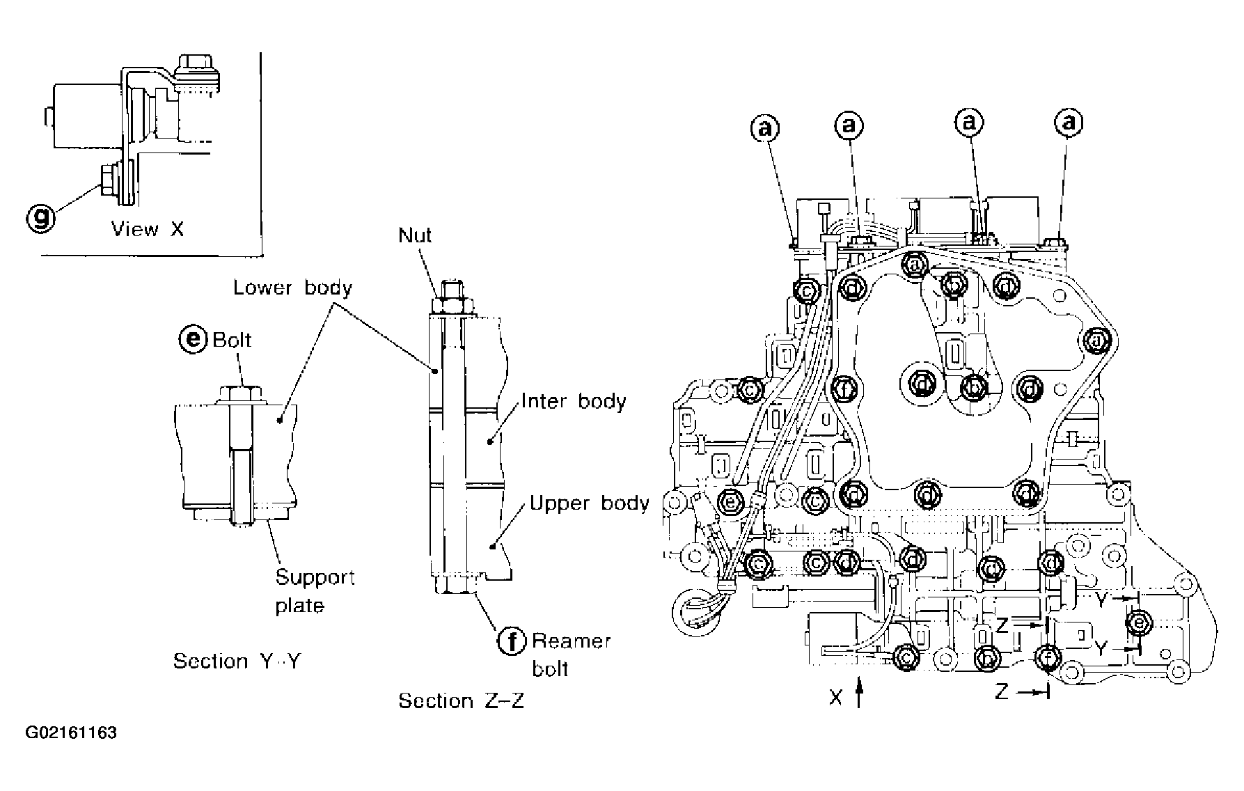
    Fig 13: Sectional View Of Control Valve Assembly
    G02161163Courtesy of NISSAN MOTOR CO., U.S.A.
  1. Install and tighten bolts b to specified torque.

    : 7 - 9 N-m (0.7 - 0.9 kg-m, 61 - 78 in-lb) 

    Fig 14: Identifying Control Valve Assembly Bolt B
    G02161164Courtesy of NISSAN MOTOR CO., U.S.A.
  2. Install solenoid valve assembly and line pressure solenoid valve to lower body.
    Fig 15: Installing Solenoid Valve Assembly And Line Pressure Solenoid Valve To Lower Body
    G02161165Courtesy of NISSAN MOTOR CO., U.S.A.
  3. Set oil strainer, then tighten bolts a, c, d  and nuts to specified torque.

    : 7 - 9 N-m (0.7 - 0.9 kg-m, 61 - 78 in-lb) 

    Fig 16: Identifying Oil Strainer
    G02161166Courtesy of NISSAN MOTOR CO., U.S.A.
  4. Tighten bolts to specified torque.

    : 3.4 - 4.4 N-m (0.35 - 0.45 kg-m, 30.4 - 39.1 in-lb) 

    Fig 17: Identifying Control Valve Assembly Bolt E
    G02161167Courtesy of NISSAN MOTOR CO., U.S.A.