LEMON Manuals: Even more car manuals for everyone: 1960-2025
Home >> Nissan-Datsun >> 2004 >> Sentra SE-R >> Repair and Diagnosis >> External Pages >> Different car >> Section 794 (Automatic Transmission) >> Repair For Component Parts >> Control Valve Assembly >> Disassembly
April 5, 2026: LEMON Manuals is launched! Read the announcement.

Control Valve Assembly: Disassembly

WARNING: This page is about a different car, the 2003 Nissan Altima. However, it is still accessible from the selected car via links, so may be relevant.

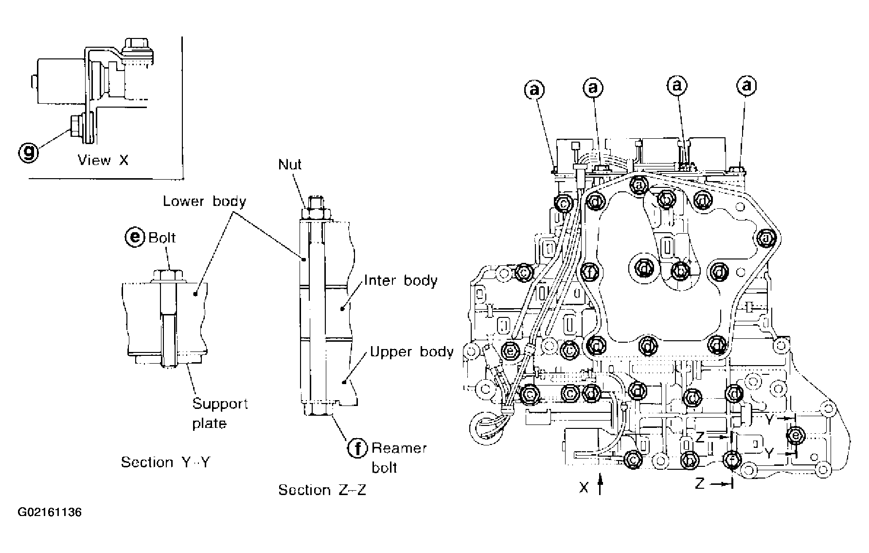
Disassemble upper, inter and lower bodies.

Bolt length, number and location: 

Fig 1: Control Valve Assembly Bolt Length, Number And Location Chart
G02161135Courtesy of NISSAN MOTOR CO., U.S.A.
Fig 2: Sectional View Of Control Valve Assembly
G02161136Courtesy of NISSAN MOTOR CO., U.S.A.
  1. Remove bolts a, d  and nut and remove oil strainer from control valve assembly.
    Fig 3: Identifying Oil Strainer
    G02161137Courtesy of NISSAN MOTOR CO., U.S.A.
  2. Remove solenoid valve assembly and line pressure solenoid valve from control valve assembly.
    Fig 4: Removing Solenoid Valve Assembly And Line Pressure Solenoid Valve From Control Valve Assembly
    G02161138Courtesy of NISSAN MOTOR CO., U.S.A.
  3. Remove O-rings from solenoid valves and terminal body.
    Fig 5: Removing O-Rings From Solenoid Valves And Terminal Body
    G02161139Courtesy of NISSAN MOTOR CO., U.S.A.
  4. Place upper body facedown, and remove bolts b, c  and nut f. 
    Fig 6: Identifying Upper Control Valve Body Bolts
    G02161140Courtesy of NISSAN MOTOR CO., U.S.A.
  5. Remove inter body from lower body.
    Fig 7: Removing Inter Body From Lower Body
    G02161141Courtesy of NISSAN MOTOR CO., U.S.A.
  6. Turn over lower body, and remove accumulator support plate.
    Fig 8: Identifying Accumulator Support Plate For Removal
    G02161142Courtesy of NISSAN MOTOR CO., U.S.A.
  7. Remove bolts , separating plate and separating gasket from lower body.
  8. Remove check balls and oil cooler relief valve springs from lower body.
    • Be careful not to lose check balls and oil cooler relief valve springs. 
    Fig 9: Identifying Check Balls And Oil Cooler Relief Valve Springs
    G02161143Courtesy of NISSAN MOTOR CO., U.S.A.
  9. Remove inter body from upper body.
    Fig 10: Removing Inter Body From Upper Body
    G02161144Courtesy of NISSAN MOTOR CO., U.S.A.
  10. Check to see that steel balls are properly positioned in inter body and then remove them.
    • Be careful not to lose steel balls. 
    Fig 11: Identifying Position Of Steel Balls In Inter Body
    G02161145Courtesy of NISSAN MOTOR CO., U.S.A.
  11. Check to see that steel balls are properly positioned in upper body and then remove them.
    • Be careful not to lose steel balls. 
    Fig 12: Identifying Position Of Steel Balls In Upper Body
    G02161146Courtesy of NISSAN MOTOR CO., U.S.A.