LEMON Manuals: Even more car manuals for everyone: 1960-2025
Home >> Nissan-Datsun >> 2004 >> Sentra SE-R >> Repair and Diagnosis >> Transmission >> Automatic Trans >> Automatic Transaxle - Re4F04B >> Repair For Component Parts >> Manual Shaft >> Components
April 5, 2026: LEMON Manuals is launched! Read the announcement.

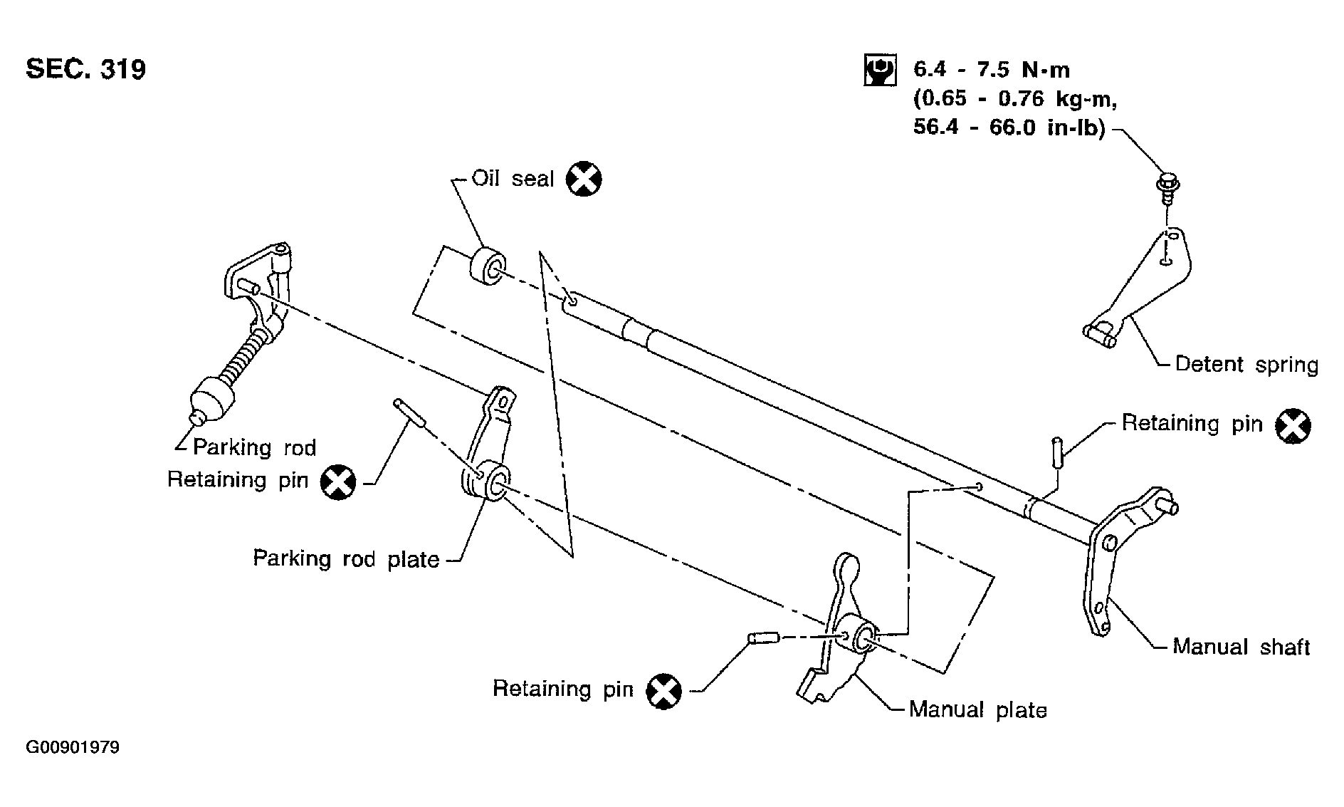
Manual Shaft: Components

Fig 1: Identifying Manual Shaft Components And Tightening Torques
G00901979Courtesy of NISSAN MOTOR CO., U.S.A.