LEMON Manuals: Even more car manuals for everyone: 1960-2025
Home >> Nissan-Datsun >> 2005 >> Altima SE-R, Automatic >> Repair and Diagnosis >> Body & Frame >> Windows >> Glass, Window System & Mirrors >> Rear Window Defogger >> Filament Check
April 5, 2026: LEMON Manuals is launched! Read the announcement.

Filament Check

  1. When measuring voltage, wrap tin foil around the top of the negative probe. Then press the foil against the wire with your finger.
    Fig 1: Identifying Wrap Tin Foil
    G02524046Courtesy of NISSAN MOTOR CO., U.S.A.
  2. Attach probe circuit tester (in Volt range) to middle portion of each filament.
    Fig 2: Attaching Probe Circuit Tester To Middle Portion Of Filament
    G02524047Courtesy of NISSAN MOTOR CO., U.S.A.
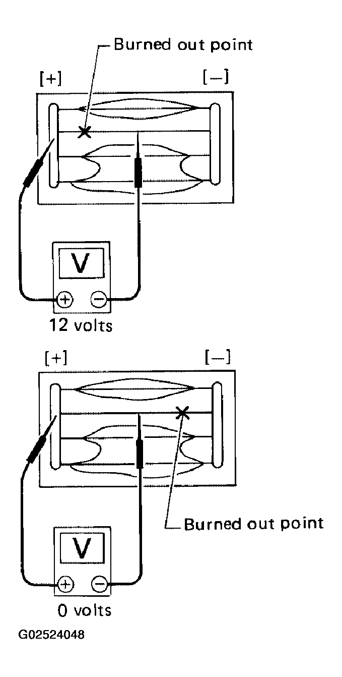
  3. If a filament is burned out, circuit tester registers 0 or battery voltage.
  4. To locate burned out point, move probe to left and right along filament. Test needle will swing abruptly when probe passes the point.
    Fig 3: Attaching Probe Circuit Tester To Middle Portion Of Filament
    G02524048Courtesy of NISSAN MOTOR CO., U.S.A.