LEMON Manuals: Even more car manuals for everyone: 1960-2025
Home >> Nissan-Datsun >> 2005 >> Quest S >> Repair and Diagnosis >> External Pages >> Different car >> Section 249 (Lighting System) >> Headlamp (For CANADA) - Daytime Light System - >> Daytime Light Control Does Not Operate Properly (Normal Headlamps Operate Properly)
April 5, 2026: LEMON Manuals is launched! Read the announcement.

Daytime Light Control Does Not Operate Properly (Normal Headlamps Operate Properly)

WARNING: This page is about a different car, the 2005 Infiniti QX56. However, it is still accessible from the selected car via links, so may be relevant.
  1. CHECK DAYTIME LIGHT RELAY POWER SUPPLY CIRCUIT 
    1. Remove daytime light relay.
    2. Check voltage between daytime light relay harness connector E103 terminals 2 (G), 5 (G) and ground.
      • 2 (G), 5 (G) - Ground: Battery voltage should exist. 

    OK or NG

    • OK: GO TO 2.
    • NG: Repair harness or connector.
    Fig 1: Checking Voltage Between Daytime Light Relay Harness Connector E103 Terminals 2 (G), 5 (G) And Ground
    G02386313Courtesy of NISSAN MOTOR CO., U.S.A.
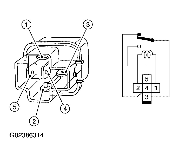
  2. CHECK DAYTIME LIGHT RELAY 
    1. Apply battery voltage to daytime light relay terminal 2 and ground terminal 1.
    2. Check continuity between terminals 3 and 5.
      • 3 - 5: Continuity should exist. 

    OK or NG

    • OK: GO TO 3.
    • NG: Replace daytime light relay.
    Fig 2: Applying Battery Voltage To Daytime Light Relay Terminal 2 And Ground Terminal 1
    G02386314Courtesy of NISSAN MOTOR CO., U.S.A.
  3. CHECK DAYTIME LIGHT RELAY CIRCUIT 
    1. Disconnect IPDM E/R connector E122.
    2. Check continuity between daytime light relay connector E103 terminal 1 (BR) and front combination lamp LH harness connector E122 terminal 44 (BR).
      • 44 (BR) - 1 (BR): Continuity should exist. 

    OK or NG

    • OK: GO TO 4.
    • NG: Repair harness or connector.
    Fig 3: Checking Continuity Between Daytime Light Relay Connector E103 Terminal 1 And Front Combination Lamp LH Harness Connector E122 Terminal 44
    G02386315Courtesy of NISSAN MOTOR CO., U.S.A.
  4. CHECK INPUT SIGNAL 
    1. Connect daytime light relay and IPDM E/R connector.
    2. Start engine and release parking brake. Headlamp switch OFF.
    3. Select "IPDM E/R" on CONSULT-II. With data monitor, make sure "DTRL REQ" turns ON-OFF linked with operation of parking brake switch.
      • Parking brake ON: DTRL REQ ON 
      • Parking brake OFF: DTRL REQ OFF 
      Fig 4: Identifying "DTRL REQ" Turned "OFF"
      G02386316Courtesy of NISSAN MOTOR CO., U.S.A.

    OK or NG

  5. CHECKING CAN COMMUNICATIONS 

    Select "BCM" on CONSULT-II and perform self-diagnosis for BCM.

    Displayed self-diagnosis results

    NO DTC: Replace BCM. Refer to "REMOVAL AND INSTALLATION OF BCM ".

    CAN COMM CIRCUIT: Check BCM CAN communication system. Refer to "CAN COMMUNICATION INSPECTION USING CONSULT-II (SELF-DIAGNOSIS) ".

    Fig 5: Identifying Self-Diagnosis Results Display
    G02386317Courtesy of NISSAN MOTOR CO., U.S.A.