LEMON Manuals: Even more car manuals for everyone: 1960-2025
Home >> Nissan-Datsun >> 2005 >> Quest SL >> Repair and Diagnosis (Single Page) >> Transmission >> Automatic Transmission (Re5F22A) >> A/T Control System >> TCM Function >> Control System Diagram
April 5, 2026: LEMON Manuals is launched! Read the announcement.

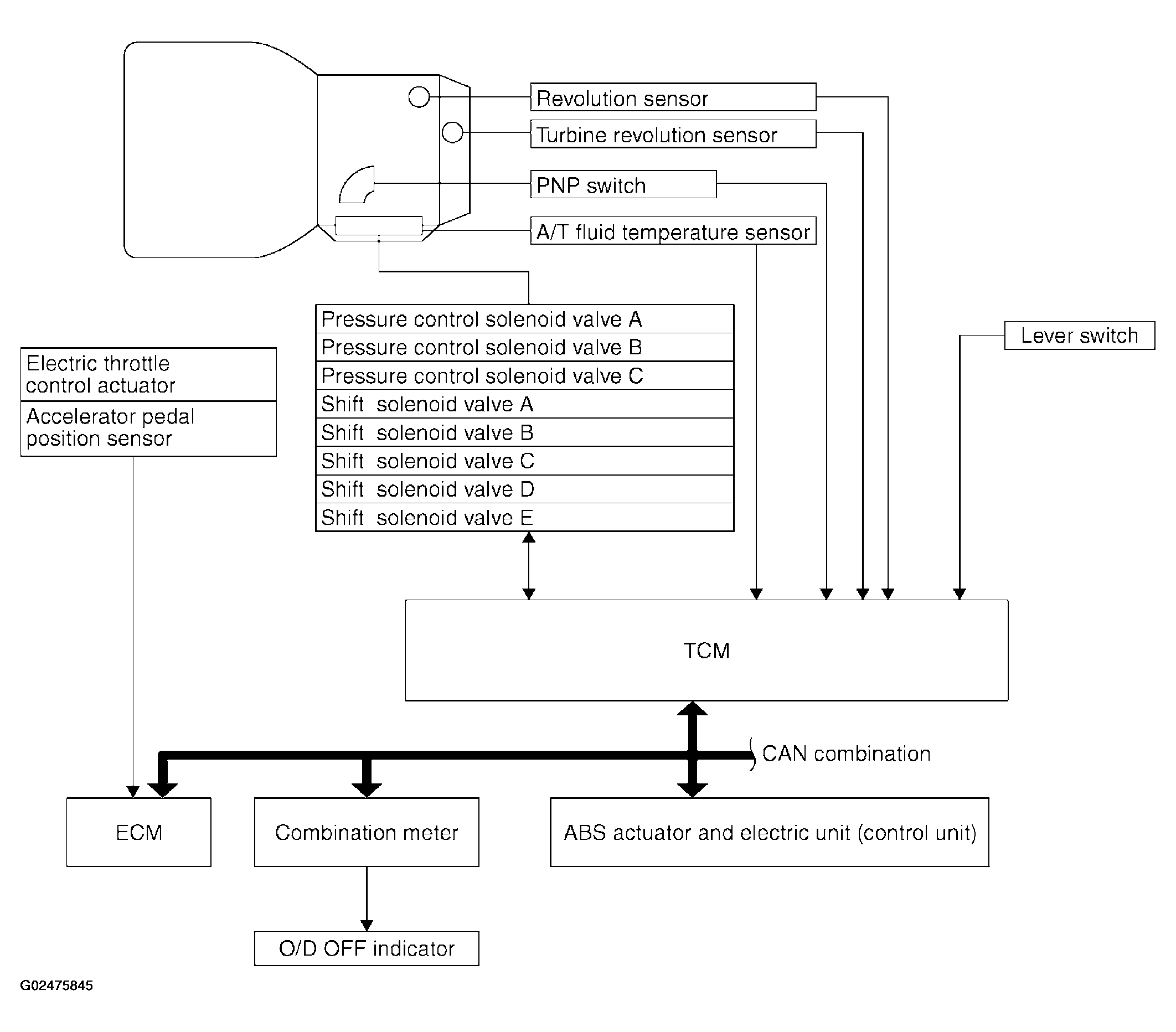
Control System Diagram

Fig 1: Automatic Transaxle Control System Diagram
G02475845Courtesy of NISSAN MOTOR CO., U.S.A.