LEMON Manuals: Even more car manuals for everyone: 1960-2025
Home >> Nissan-Datsun >> 2005 >> Sentra Base, Standard >> Repair and Diagnosis >> External Pages >> Different variant/trim >> Section 5 (Engine Control System - Introduction (Qr25DE)) >> Trouble Diagnosis - Specification Value >> Diagnostic Procedure (A/T Models ULEV and M/T Models) >> Overall Sequence
April 5, 2026: LEMON Manuals is launched! Read the announcement.

Overall Sequence

WARNING: This page is about a different variant/trim than selected.
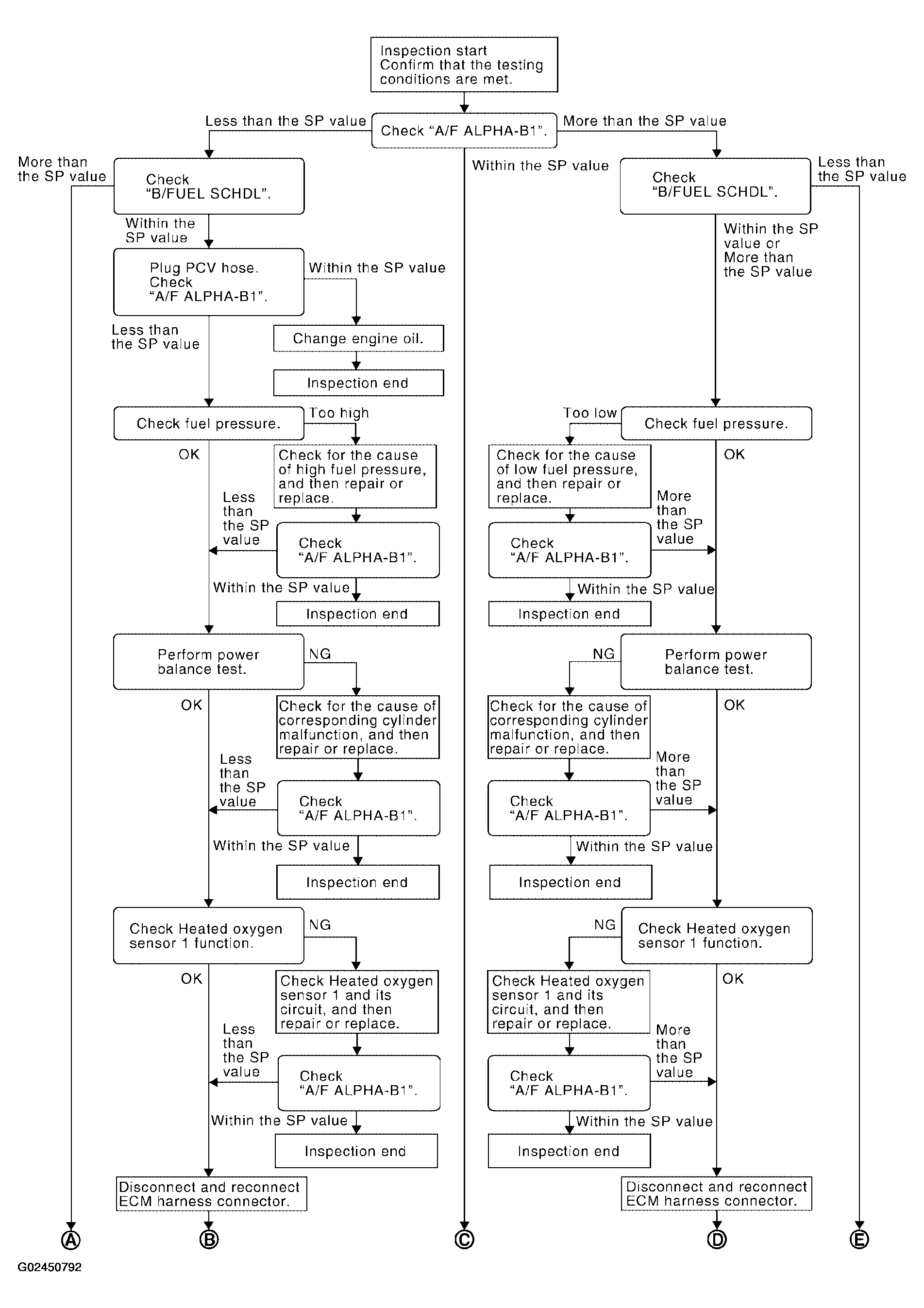
Fig 1: Diagnostic Procedure Flow Chart - A/T Models ULEV And M/T Models (1 Of 2)
G02450792Courtesy of NISSAN MOTOR CO., U.S.A.
Fig 2: Diagnostic Procedure Flow Chart - A/T Models ULEV And M/T Models (2 Of 2)
G02450793Courtesy of NISSAN MOTOR CO., U.S.A.