LEMON Manuals: Even more car manuals for everyone: 1960-2025
Home >> Nissan-Datsun >> 2006 >> Armada LE, RWD >> Repair and Diagnosis >> Engine Performance >> System >> Transfer Case >> All-Mode 4WD System >> System Diagram >> Notes
April 5, 2026: LEMON Manuals is launched! Read the announcement.

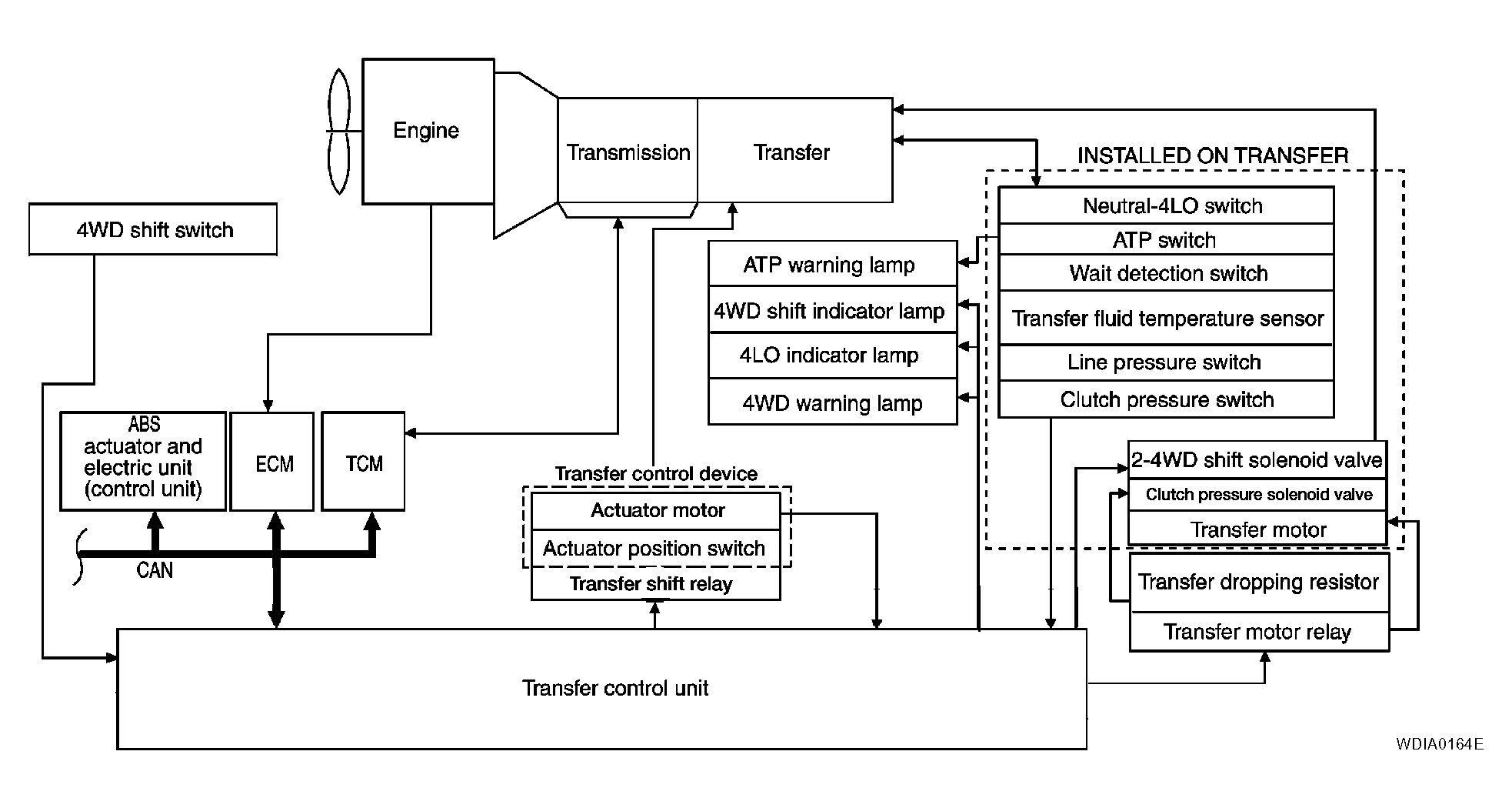
System Diagram: Notes

Fig 1: ATP Warning Lamp - System Diagram
G04210861Courtesy of NISSAN MOTOR CO., U.S.A.