LEMON Manuals: Even more car manuals for everyone: 1960-2025
Home >> Nissan-Datsun >> 2006 >> Sentra SE-R Spec V >> Repair and Diagnosis >> External Pages >> Different car >> Section 20 (Body, Lock & Security System) >> Vehicle Security (Theft Warning) System >> Electrical Components Inspection >> Vehicle Security Lamp Relay
April 5, 2026: LEMON Manuals is launched! Read the announcement.

Vehicle Security Lamp Relay

WARNING: This page is about a different car, the 2005 Nissan Sentra. However, it is still accessible from the selected car via links, so may be relevant.

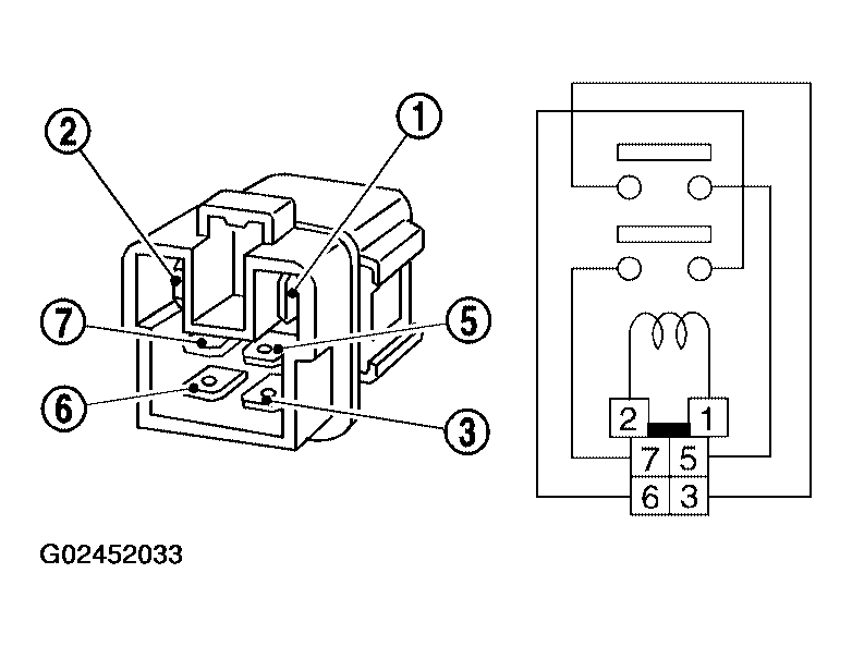
Check continuity between terminals 3 and 5, 6 and 7.

VEHICLE SECURITY LAMP RELAY

Condition Continuity
12V direct current supply between terminals 1 and 2 Yes
No current supply No
Fig 1: Checking Continuity Between Terminals 3 And 5, 6 And 7
G02452033Courtesy of NISSAN MOTOR CO., U.S.A.