LEMON Manuals: Even more car manuals for everyone: 1960-2025
Home >> Nissan-Datsun >> 2006 >> Sentra SE-R >> Repair and Diagnosis >> Body & Frame >> Door Locks >> Body, Lock & Security System >> Body (Alignment) >> Alignment >> Engine Compartment >> Measurement Points
April 5, 2026: LEMON Manuals is launched! Read the announcement.

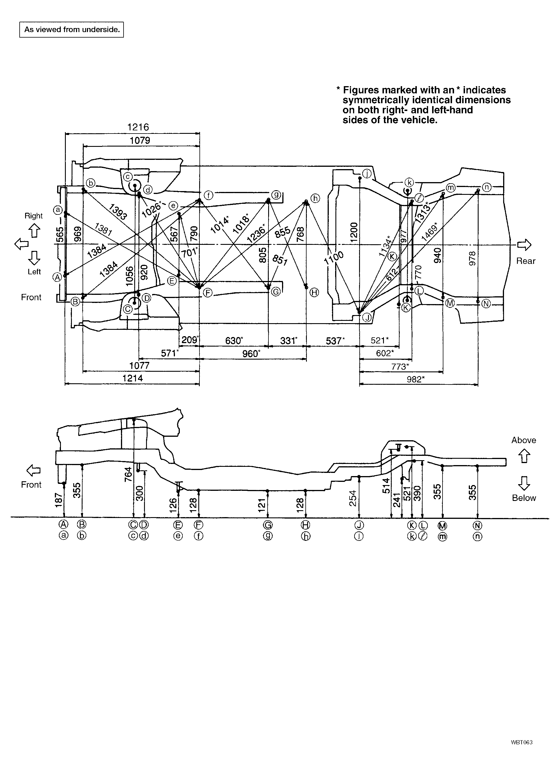
Measurement Points

Fig 1: Identifying Engine Compartment Measurement Points
G04195058Courtesy of NISSAN MOTOR CO., U.S.A.