LEMON Manuals: Even more car manuals for everyone: 1960-2025
Home >> Nissan-Datsun >> 2006 >> Sentra SE-R >> Repair and Diagnosis >> External Pages >> Different car >> Section 15 (Front Axle) >> Drive Shaft >> Assembly >> Dynamic Damper
April 5, 2026: LEMON Manuals is launched! Read the announcement.

Dynamic Damper

WARNING: This page is about a different car, the 2005 Nissan Sentra. However, it is still accessible from the selected car via links, so may be relevant.
  1. Use a new damper band when reinstalling.
  2. Install dynamic damper from stationary-joint side while holding it securely:
    Fig 1: Dynamic Damper Installation Dimension Reference Chart
    G02451631Courtesy of NISSAN MOTOR CO., U.S.A.
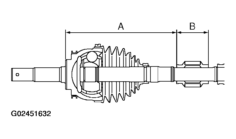
    Fig 2: Identifying Dynamic Damper Dimensions
    G02451632Courtesy of NISSAN MOTOR CO., U.S.A.