LEMON Manuals: Even more car manuals for everyone: 1960-2025
Home >> Nissan-Datsun >> 2007 >> Murano SL, AWD >> Repair and Diagnosis >> Brakes >> Traction Control >> Brake Control System >> VDC/TCS/Abs >> System Description >> System Diagram >> Notes
April 5, 2026: LEMON Manuals is launched! Read the announcement.

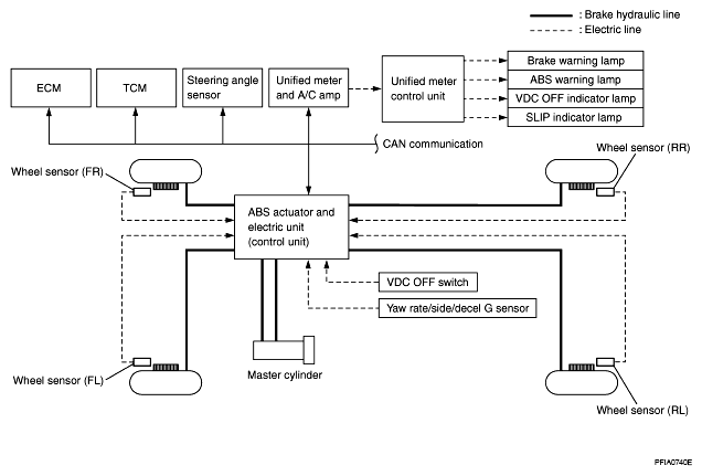
System Diagram: Notes

Fig 1: Brake Hydraulic Line - System Diagram
G04921732