LEMON Manuals: Even more car manuals for everyone: 1960-2025
Home >> Nissan-Datsun >> 2008 >> Sentra SE-R >> Repair and Diagnosis >> External Pages >> Different car >> Section 12 (Automatic Transmission) >> Overhaul >> Components
April 5, 2026: LEMON Manuals is launched! Read the announcement.

Section 12 (Automatic Transmission): Overhaul: Components

WARNING: This page is about a different car, the 2007 Nissan Pathfinder. However, it is still accessible from the selected car via links, so may be relevant.
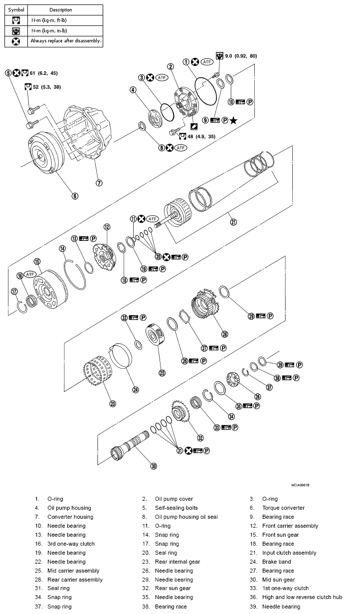
Fig 1: Exploded View Of Transmission Assembly With Torque Specification (1 Of 2)
G04909755
Fig 2: Exploded View Of Transmission Assembly With Torque Specification (2 Of 2)
G04909756
Fig 3: Exploded View Of Transmission Assembly With Torque Specification - 2WD Models
G04909757
Fig 4: Exploded View Of Transmission Assembly With Torque Specification - 4WD Models
G04909758