LEMON Manuals: Even more car manuals for everyone: 1960-2025
Home >> Nissan-Datsun >> 2008 >> Sentra SE-R >> Repair and Diagnosis >> External Pages >> Different car >> Section 175 (Seat) >> Unit Disassembly And Assembly >> Rear Seat >> Exploded View >> Disassembly and Assembly
April 5, 2026: LEMON Manuals is launched! Read the announcement.

Disassembly and Assembly

WARNING: This page is about a different car, the 2012 Nissan Pathfinder. However, it is still accessible from the selected car via links, so may be relevant.
Fig 1: Disassembled View Of Second Row Outer (Rear Seat) With Torque Specifications
G08167807Courtesy of NISSAN NORTH AMERICA, INC.
Fig 2: Disassembled View Of Second Row Center (Rear Seat) With Torque Specifications
G08167808Courtesy of NISSAN NORTH AMERICA, INC.
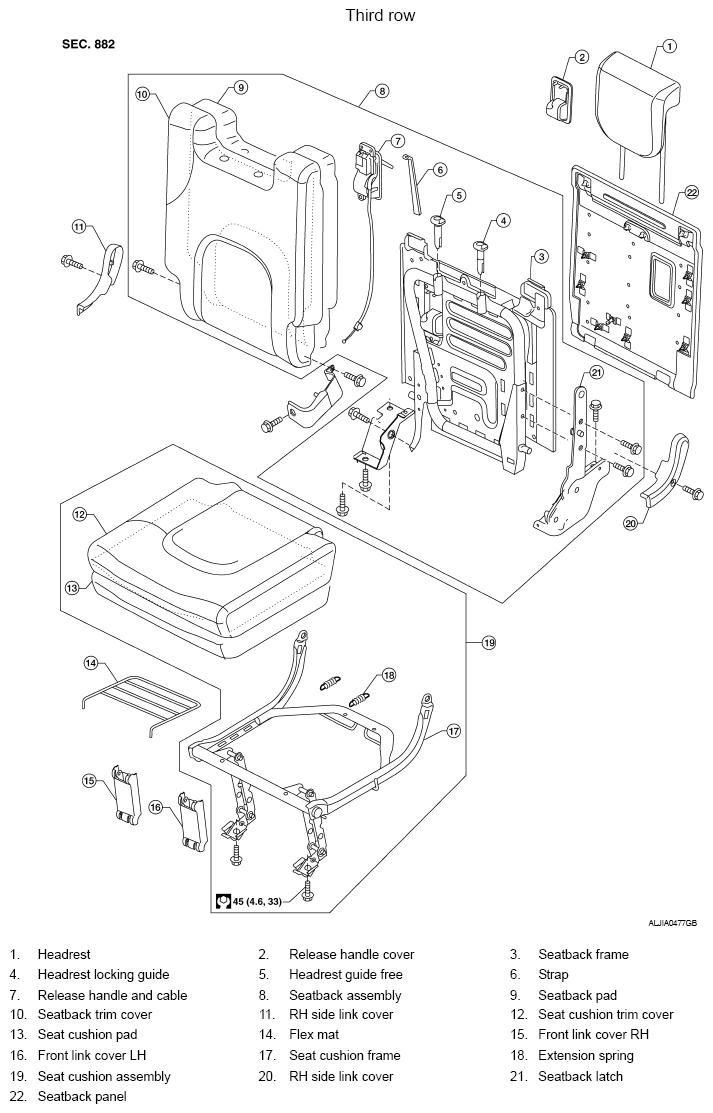
Fig 3: Disassembled View Of Third Row (Rear Seat) With Torque Specifications
G08167809Courtesy of NISSAN NORTH AMERICA, INC.