LEMON Manuals: Even more car manuals for everyone: 1960-2025
Home >> Nissan-Datsun >> 2008 >> Versa SL, 4D Hatchback, Standard >> Repair and Diagnosis >> Engine Performance >> Engine Control Systems >> Engine Control System - Introduction >> Precautions >> Precaution
April 5, 2026: LEMON Manuals is launched! Read the announcement.

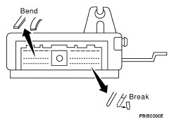
Engine Control System - Introduction: Precautions: Precaution