LEMON Manuals: Even more car manuals for everyone: 1960-2025
Home >> Nissan-Datsun >> 2009 >> 370Z Base, Automatic >> Repair and Diagnosis >> Brakes >> Traction Control >> Brake Control System >> Function Diagnosis >> TCS >> System Diagram
April 5, 2026: LEMON Manuals is launched! Read the announcement.

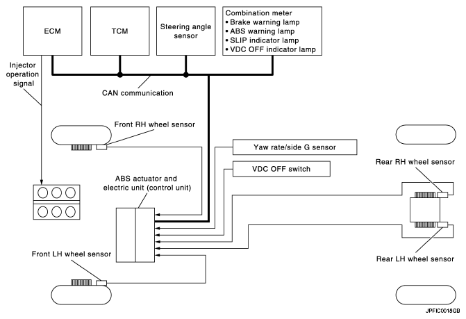
System Diagram

Fig 1: TCS System Diagram
G06049776Courtesy of NISSAN MOTOR CO., U.S.A.