LEMON Manuals: Even more car manuals for everyone: 1960-2025
Home >> Nissan-Datsun >> 2009 >> 370Z Base, Standard >> Repair and Diagnosis >> Body & Frame >> Windows >> Power Window Control System >> Function Diagnosis >> Power Window System >> System Diagram
April 5, 2026: LEMON Manuals is launched! Read the announcement.

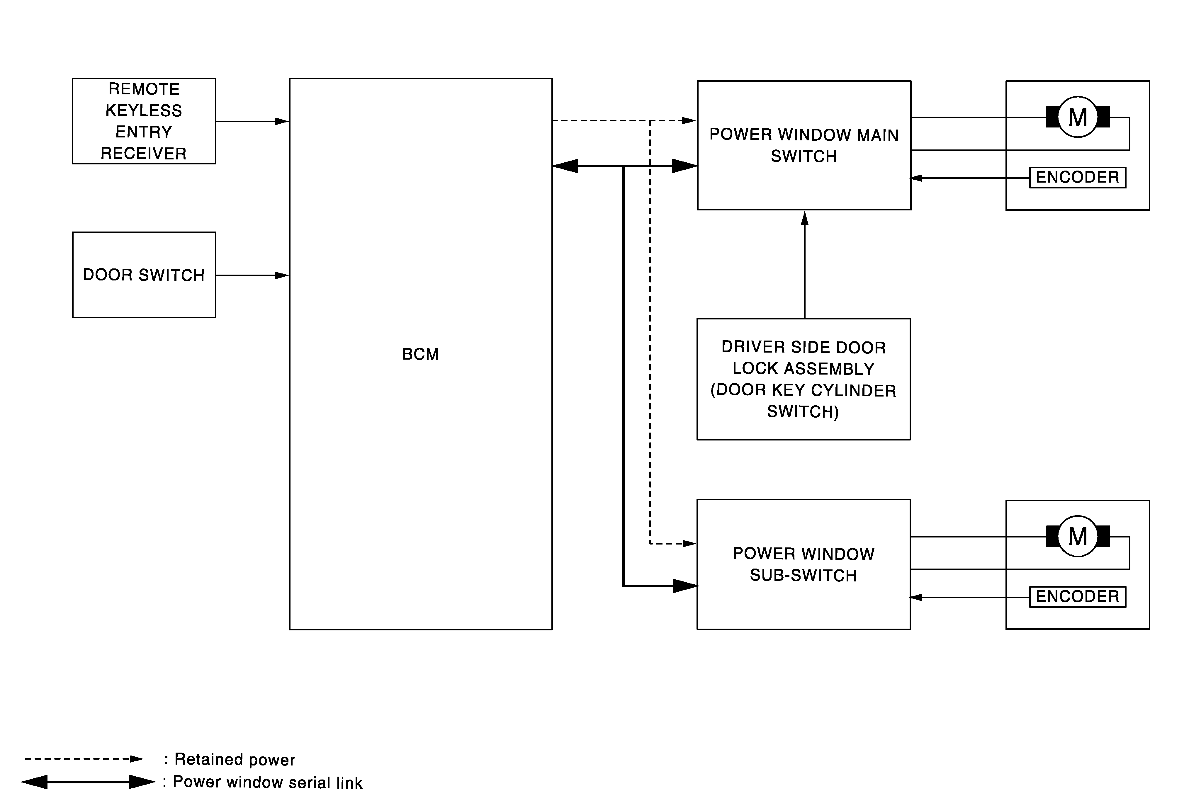
System Diagram

Fig 1: Power Window System Diagram
G06049948Courtesy of NISSAN MOTOR CO., U.S.A.