LEMON Manuals: Even more car manuals for everyone: 1960-2025
Home >> Nissan-Datsun >> 2009 >> Altima Base >> Repair and Diagnosis >> External Pages >> Different variant/trim >> Section 59 (Hybrid Control System - Introduction) >> Function Diagnosis >> Brake Control >> System Diagram
April 5, 2026: LEMON Manuals is launched! Read the announcement.

System Diagram

WARNING: This page is about a different variant/trim than selected.
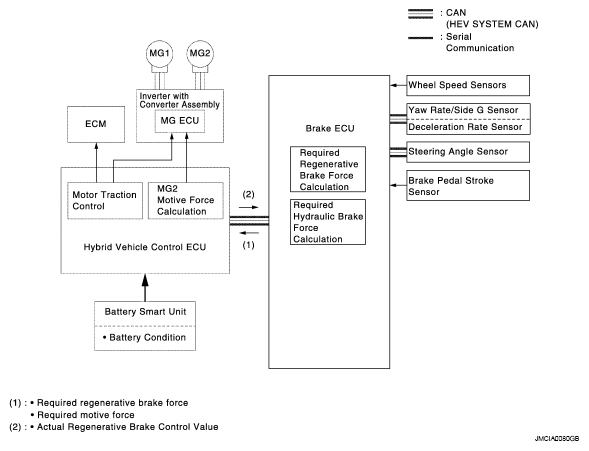
Fig 1: Brake Control System Diagram
G05030211Courtesy of NISSAN MOTOR CO., U.S.A.