LEMON Manuals: Even more car manuals for everyone: 1960-2025
Home >> Nissan-Datsun >> 2009 >> Maxima S >> Repair and Diagnosis (Single Page) >> Body & Frame >> Seats >> Automatic Drive Positioner >> Function Diagnosis >> Automatic Drive Positioner System >> Memory Function >> MEMORY FUNCTION: System Diagram
April 5, 2026: LEMON Manuals is launched! Read the announcement.

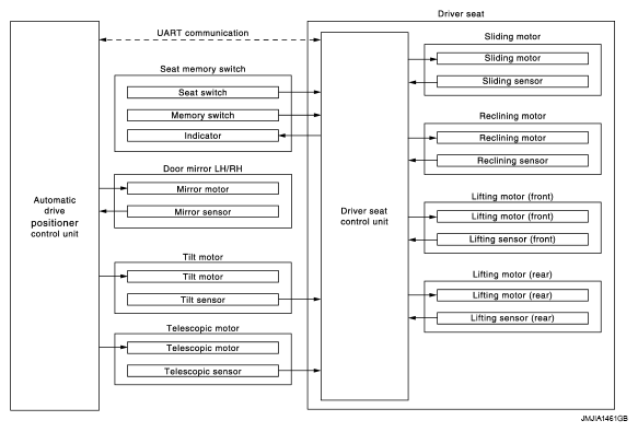
MEMORY FUNCTION: System Diagram

Fig 1: Memory System Diagram
G05887596Courtesy of NISSAN MOTOR CO., U.S.A.