LEMON Manuals: Even more car manuals for everyone: 1960-2025
Home >> Nissan-Datsun >> 2009 >> Maxima S >> Repair and Diagnosis >> Engine Performance >> System >> Engine Control System - DTCS P0451 To P1217 >> P1078, P1084 EVT Control Position Sensor >> Component Inspection
April 5, 2026: LEMON Manuals is launched! Read the announcement.

Component Inspection

  1. EXHAUST VALVE TIMING CONTROL POSITION SENSOR-I
    1. Turn ignition switch OFF.
    2. Disconnect exhaust valve timing control position sensor harness connector.
    3. Loosen the fixing bolt of the sensor.
    4. Remove the sensor.
    5. Visually check the sensor for chipping.

    Is the inspection result normal? 

    YES: GO TO 2.

    NO: Replace malfunctioning exhaust valve timing control position sensor.

    Fig 1: Identifying Exhaust Valve Timing Control Position Sensor
    G05869905Courtesy of NISSAN MOTOR CO., U.S.A.
  2. EXHAUST VALVE TIMING CONTROL POSITION SENSOR-II

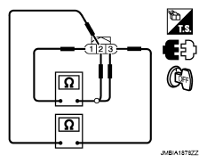
    Check resistance exhaust valve timing control position sensor terminals as shown below.

    RESISTANCE REFERENCE

    Terminals Resistance
    1 (+) - 2 (-) Except 0 or ∞ Ω [at 25°C (77°F)]
    1 (+) - 3 (-)
    2 (+) - 3 (-)
    Fig 2: Checking Resistance Exhaust Valve Timing Control Position Sensor Terminals
    G05869906Courtesy of NISSAN MOTOR CO., U.S.A.

    Is the inspection result normal? 

    YES: INSPECTION END

    NO: Replace malfunctioning exhaust valve timing control position sensor.