LEMON Manuals: Even more car manuals for everyone: 1960-2025
Home >> Nissan-Datsun >> 2011 >> Leaf ELE-Electric Engine >> Repair and Diagnosis >> Body and Frame >> Frame >> Subframe >> Front Subframe >> Service and Repair >> Removal And Installation
April 5, 2026: LEMON Manuals is launched! Read the announcement.

Removal And Installation




FRONT SUSPENSION MEMBER

Removal and Installation


WARNING:
- Because hybrid vehicles and electric vehicles contain a high voltage battery, there is the risk of electric shock, electric leakage, or similar accidents if the high voltage component and vehicle are handled incorrectly. Be sure to follow the correct work procedures when performing inspection and maintenance.
- Be sure to remove the service plug in order to disconnect the high voltage circuits before performing inspection or maintenance of high voltage system harnesses and parts.
- To prevent the removed service plug from being connected by mistake during the procedure, always carry it in your pocket or put it in the tool box.
- Be sure to wear insulating protective equipment consisting of glove, shoes, face shield and glasses before beginning work on the high voltage system.
- Clearly identify the persons responsible for high voltage work and ensure that other persons do not touch the vehicle. When not working, cover high voltage parts with an insulating cover sheet or similar item to prevent other persons from contacting them.
- Refer to "High Voltage Precautions" High Voltage Precautions.

CAUTION:
There is the possibility of a malfunction occurring if the vehicle is changed to READY status while the service plug is removed. Therefore do not change the vehicle to READY status unless instructed to do so in the Service Manual.

REMOVAL


WARNING:
Disconnect high voltage circuit. Refer to "How to Disconnect High Voltage" Service and Repair.
1.Check voltage in high voltage circuit. (Check that condenser are discharged.)
a.Lift up the vehicle and remove the Li-ion battery under covers. Refer to "Exploded View" Service and Repair.
b.Disconnect high voltage harness connector from front side of Li-ion battery. Refer to "Removal and Installation" Service and Repair.





c.Measure voltage between high voltage harness terminals.
DANGER:


Touching high voltage components without using the appropriate protective equipment will cause electrocution.
Standard: 5 V or less

CAUTION:
For voltage measurements, use a tester which can measure to 500 V or higher.
2.Remove 12V battery. Refer to "Precaution for Removing 12V Battery" Precaution For Removing 12V Battery.
3.Remove front under cover. Refer to "FRONT UNDER COVER : Removal and Installation" Front Under Cover.
4.Remove traction motor inverter.





5.Remove the mounting bolts (A), then remove the compressor stay (1).

WARNING:


To prevent electric shock hazards, be sure to wear protective gear.





6.Disconnect the high voltage harness connector (A) from electric compressor.

WARNING:
-To prevent electric shock hazards, be sure to wear protective gear.
- Protect the terminals of disconnected high voltage harness connector with insulation tape so that they are not exposed.
- Follow the procedure below and disconnect the high voltage harness connector.










7.Disconnect the low voltage harness connector (A) from electric compressor.

WARNING:


To prevent electric shock hazards, be sure to wear protective gear.





8.Remove electric compressor (1). Hang electric compressor not to interfere with work.

WARNING:


To prevent electric shock hazards, be sure to wear protective gear.

CAUTION:
Never apply excessive stress to high-pressure flexible hose and low-pressure flexible hose.










9.Remove ground cable (1) from compressor bracket (2).






WARNING:


To prevent electric shock hazards, be sure to wear protective gear.





10.Remove traction motor harness connector (1).






WARNING:


To prevent electric shock hazards, be sure to wear protective gear.





11.Remove low voltage harness connectors from parking actuator (1).










12.Remove water hose (upper side) (1) from traction motor.






WARNING:


To prevent electric shock hazards, be sure to wear protective gear.

CAUTION:
- Take care that coolant does not contact the high voltage harness connectors.
- If coolant contacts a high voltage harness connector, immediately use an air blow and fully remove the liquid.





13.Remove water hose (lower side) (1) from traction motor.






WARNING:


To prevent electric shock hazards, be sure to wear protective gear.

CAUTION:
- Take care that coolant does not contact the high voltage harness connectors.
- If coolant contacts a high voltage harness connector, immediately use an air blow and fully remove the liquid.
14.Remove tires with power tool. Refer to "Exploded View" Exploded View.





15.Remove ground cable (1) from traction motor (2).


WARNING:


To prevent electric shock hazards, be sure to wear protective gear.
16.Remove drive shaft.
- Left side: Refer to "LEFT SIDE : Removal and Installation" Removal And Installation Left Side.
- Right side: Refer to "RIGHT SIDE : Removal and Installation" Removal And Installation Right Side.
17.Separate stabilizer connecting rod from strut assembly. Refer to "Removal and Installation" Removal And Installation.
18.Separate intermediate shaft from steering gear assembly.
- With heated steering wheel: Refer to "Removal and Installation" With Heated Steering Wheel.
- Without heated steering wheel: Refer to "Removal and Installation" Without Heated Steering Wheel.





19.Set suitable jack under front suspension member.

CAUTION:
- Never damage the front suspension member with a jack.
- Check the stable condition when using a jack.
20.Remove member stay and rebound stopper with power tool.
21.Remove suspension member mounting bolts, insulator, and rebound stopper rubber with power tool.
22.Gradually lower the jack to remove front suspension member from vehicle body.

CAUTION:
Operate while checking that jack supporting status is stable.
NOTE:
Remove it with each component parts.
23.Remove the following parts from front suspension member.
- Reduction gear
- Traction motor
- Steering gear assembly (With heated steering wheel): Refer to "Removal and Installation" With Heated Steering Wheel.
- Steering gear assembly (Without heated steering wheel): Refer to "Removal and Installation" Without Heated Steering Wheel.
- Stabilizer bar: Refer to "Removal and Installation" Removal And Installation.
- Transverse link: Refer to "Removal and Installation" Removal And Installation.
24.Perform inspection after removal. Refer to "Inspection" Inspection.

INSTALLATION

Note the following, and install in the reverse order of removal.

WARNING:


To prevent electric shock hazards, be sure to wear protective gear.

CAUTION:
Be sure to reinstall high voltage harness clips in their original positions. If a clip is damaged, replace it with a new clip before installing.
- Follow the procedure below and connect the high voltage harness connector.










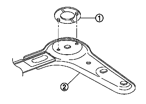
- To install rebound stopper (1), insert it with the protrusion aligned with the hole of member stay (2).





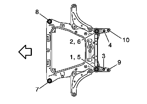
- To install member stay and mounting bolts of front suspension member, temporarily tighten the bolts before tightening to the specified torque, referring to the tightening method and the numerical order shown below:





- Perform final tightening of fixing parts at the vehicle installation position (rubber bushing), under unladen conditions with tires on level ground.
- Perform inspection and adjustment after installation. Refer to "Inspection" Inspection.