LEMON Manuals: Even more car manuals for everyone: 1960-2025
Home >> Nissan-Datsun >> 2011 >> Leaf ELE-Electric Engine >> Repair and Diagnosis >> Relays and Modules >> Relays and Modules - Brakes and Traction Control >> Electronic Brake Control Module >> Service and Repair >> Removal and Replacement >> Exploded View
April 5, 2026: LEMON Manuals is launched! Read the announcement.

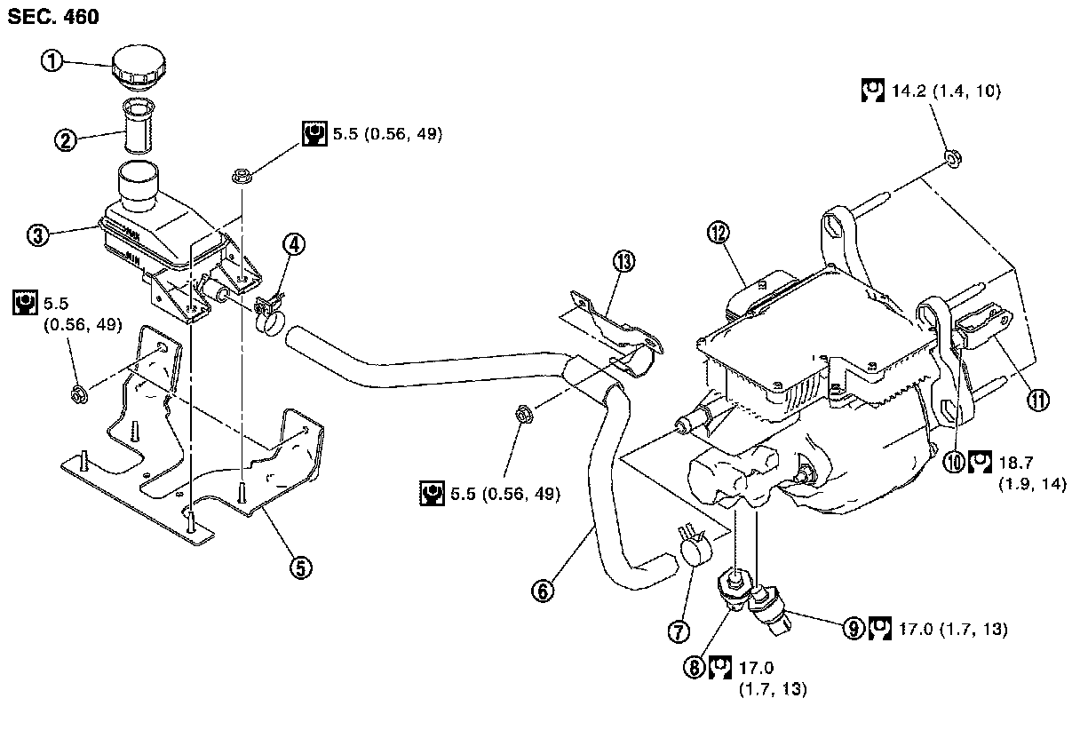
Exploded View




ELECTRICALLY-DRIVEN INTELLIGENT BRAKE UNIT

Exploded View