LEMON Manuals: Even more car manuals for everyone: 1960-2025
Home >> Nissan-Datsun >> 2011 >> Quest SL >> Repair and Diagnosis (Single Page) >> Accessories & Equipment >> Infotainment >> Audio, Visual & Navigation System >> [Base Audio With Separate Display] >> System Description >> System >> Multi Av System >> MULTI AV SYSTEM : System Diagram
April 5, 2026: LEMON Manuals is launched! Read the announcement.

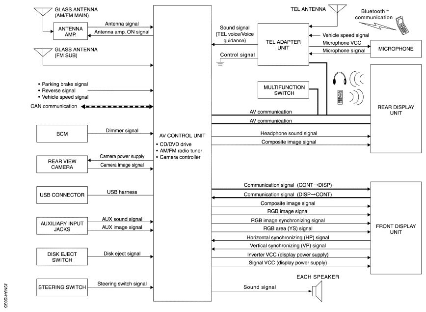
MULTI AV SYSTEM : System Diagram

Fig 1: Multi AV System Diagram
G07054214Courtesy of NISSAN MOTOR CO., U.S.A.
NOTE: The name MULTIFUNCTION SWITCH indicates the integration of PRESET SWITCH and MULTIFUNCTION SWITCH virtually.

CAN COMMUNICATION

AV control unit Input Signal

TRANSMIT UNIT INPUT SIGNAL REFERENCE CHART

Transmit unit Signal name
ECM Engine status signal
Fuel consumption monitor signal
Steering angle sensor Steering angle sensor signal
Combination meter Vehicle speed signal
Distance to empty signal
Fuel level low warning signal
BCM System setting signal