LEMON Manuals: Even more car manuals for everyone: 1960-2025
Home >> Nissan-Datsun >> 2011 >> Rogue S, AWD >> Repair and Diagnosis >> Brakes >> Traction Control >> Brake Control System >> VDC/TCS/Abs >> Removal And Installation >> Steering Angle Sensor >> Exploded View
April 5, 2026: LEMON Manuals is launched! Read the announcement.

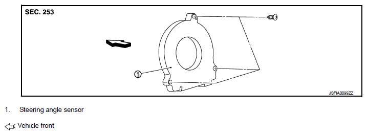
Exploded View

Fig 1: Locating Steering Angle Sensor
G07141722Courtesy of NISSAN MOTOR CO., U.S.A.