LEMON Manuals: Even more car manuals for everyone: 1960-2025
Home >> Nissan-Datsun >> 2011 >> Versa Base, Automatic >> Repair and Diagnosis >> Transmission >> Automatic Transaxle >> Service Information >> Transmission Control Module >> Removal and Installation >> Components
April 5, 2026: LEMON Manuals is launched! Read the announcement.

Removal and Installation: Components

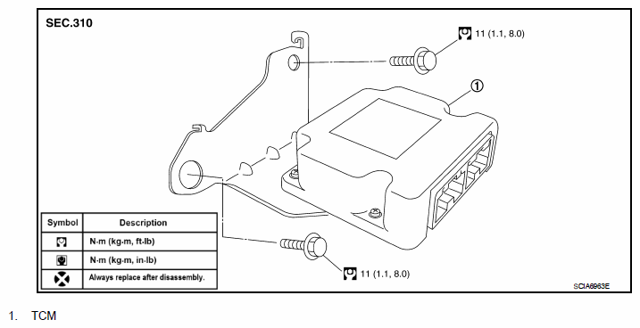
Fig 1: Transmission Control Module Replacement Components With Torque Specifications
G06538574Courtesy of NISSAN MOTOR CO., U.S.A.