LEMON Manuals: Even more car manuals for everyone: 1960-2025
Home >> Nissan-Datsun >> 2012 >> Cube Base >> Repair and Diagnosis >> External Pages >> Different car >> Section 120 (VSA System Components) >> System Description >> ABS (Anti-lock Brake System) Features >> Main Control
April 5, 2026: LEMON Manuals is launched! Read the announcement.

Main Control

WARNING: This page is about a different car, the 2013 Acura MDX, 2012 Acura MDX, 2011 Acura MDX, and 2010 Acura MDX. However, it is still accessible from the selected car via links, so may be relevant.

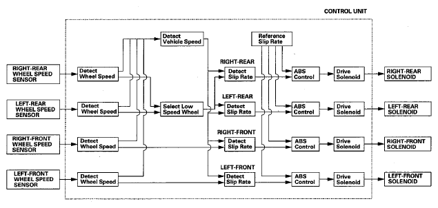
The control unit detects the wheel speed based on the wheel speed sensor signals it receives, then it calculates the vehicle speed based on the detected wheel speed. The control unit detects the vehicle speed during deceleration based on the wheel speeds.

The control unit calculates the slip rate of each wheel, and transmits the control signal to the modulator unit solenoid valve when the slip rate is high.

The hydraulic control has three modes: Pressure intensifying, pressure reducing, and pressure retaining.

Fig 1: Main Control Communication Diagram
G08053107Courtesy of AMERICAN HONDA MOTOR CO., INC.